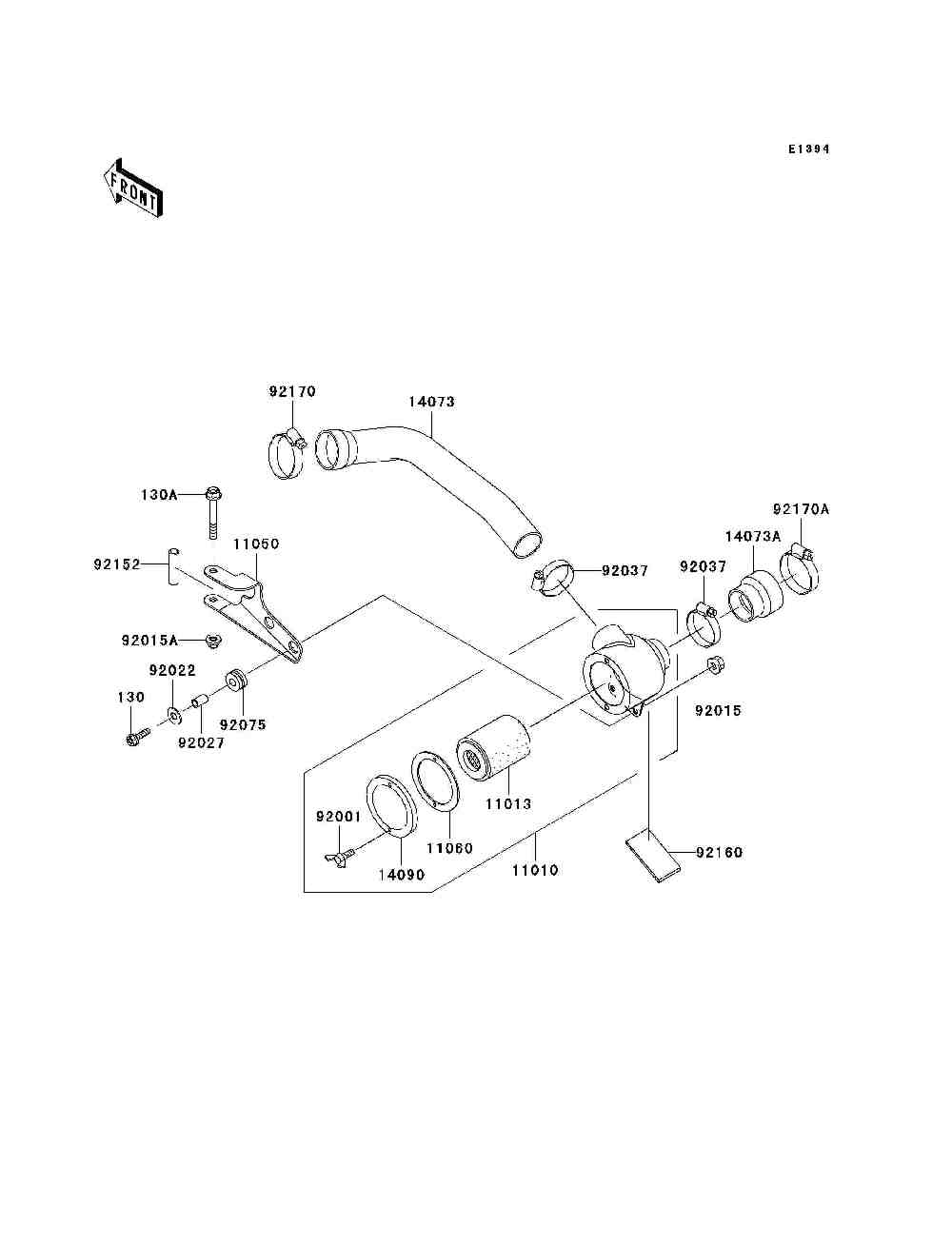
| № | Наименование | Примечание | Кол-во |
|---|---|---|---|
| 130 | BOLT-FLANGE8X30 | 2 | |
| 130A | BOLT-FLANGED | 1 | |
| 11010 | FILTER-ASSY-AIR | 1 | |
| 11013 | ELEMENT-AIR FILTER | 1 | |
| 11050 | BRACKET | 1 | |
| 11060 | GASKETAIR FILTER CAS | 1 | |
| 14073 | DUCT | 1 | |
| 14073A | DUCT | 1 | |
| 14090 | COVERAIR FILTER | 1 | |
| 92001 | BOLT6X16 | 2 | |
| 92015 | NUT8MM | 2 | |
| 92015A | NUTLOCK10MM | 1 | |
| 92022 | WASHER9X28X2.3 | 2 | |
| 92027 | COLLAR | 2 | |
| 92037 | HOSE CLAMP | 2 | |
| 92075 | DAMPER | 2 | |
| 92152 | COLLAR | 1 | |
| 92160 | DAMPER | 1 | |
| 92170 | CLAMP | 1 | |
| 92170A | CLAMP | 1 |
