| № | Наименование | Примечание | Кол-во |
|---|---|---|---|
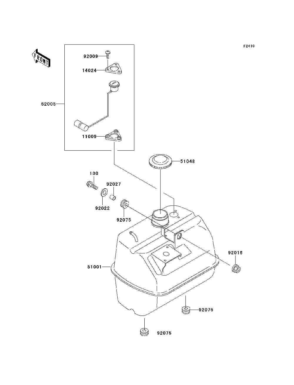
| 130 | BOLT-FLANGED | 1 | |
| 11009 | GASKETFUEL GAUGE | 1 | |
| 14024 | GAUGEFUEL | 1 | |
| 51001 | TANK-COMP-FUEL | 1 | |
| 51048 | CAP-ASSY-TANKFUEL | 1 | |
| 52005 | GAUGEFUEL | 1 | |
| 92009 | SCREW | 3 | |
| 92015 | NUTFLANGED8MM | 1 | |
| 92022 | WASHER9X28X2.3 | 1 | |
| 92027 | COLLAR | 1 | |
| 92075 | DAMPER | 3 |
