| № | Наименование | Примечание | Кол-во |
|---|---|---|---|
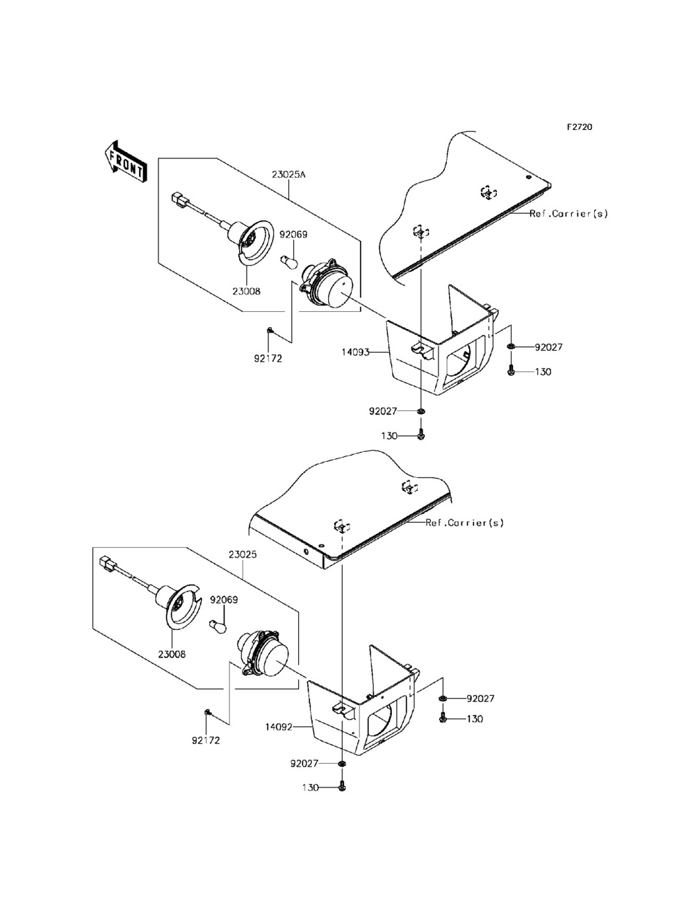
| 130 | BOLT-FLANGED6X16 | 4 | |
| 23025 | LAMP-TAILLH | 1 | |
| 23025A | LAMP-TAILRH | 1 | |
| 92027 | COLLARBRAKE PEDAL | 4 | |
| 92069 | BULB12V 21/5W | 2 | |
| 92172 | SCREWTAPPING5X10 | 6 |
| Корзина пуста |
| № | Наименование | Примечание | Кол-во |
|---|---|---|---|
| 130 | BOLT-FLANGED6X16 | 4 | |
| 23025 | LAMP-TAILLH | 1 | |
| 23025A | LAMP-TAILRH | 1 | |
| 92027 | COLLARBRAKE PEDAL | 4 | |
| 92069 | BULB12V 21/5W | 2 | |
| 92172 | SCREWTAPPING5X10 | 6 |