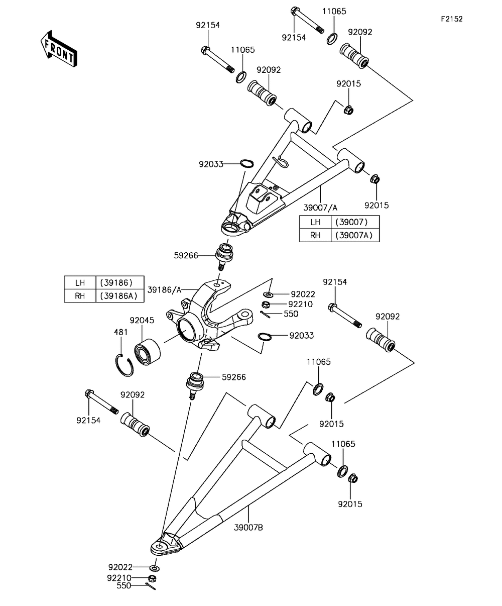
Front Suspension

Корзина пуста