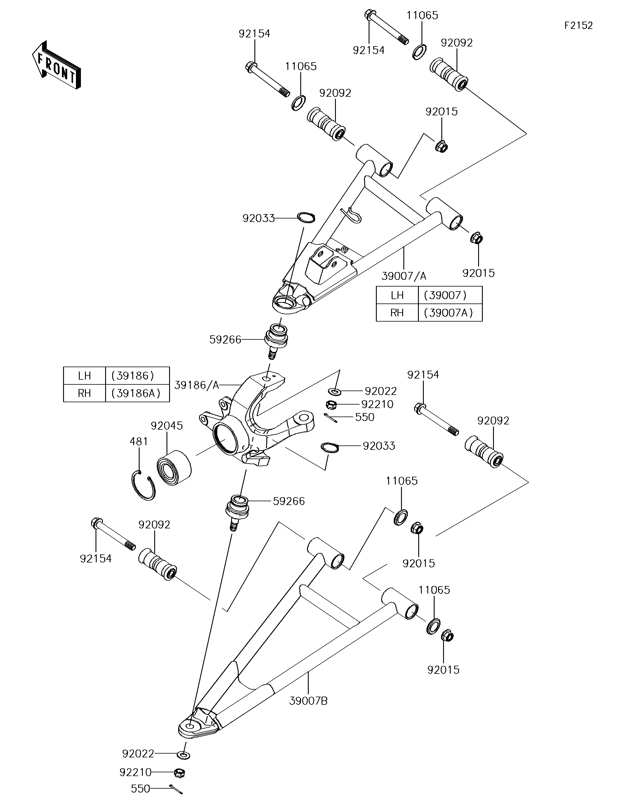
| № | Наименование | Примечание | Кол-во |
|---|---|---|---|
| 481 | CIRCLIP-TYPE-C | 2 | |
| 550 | PIN-COTTER3.0X25 | 4 | |
| 11065 | CAPARM | 8 | |
| 39007 | ARM-SUSPFRUPPLH | 1 | |
| 39007A | ARM-SUSPFRUPPRH | 1 | |
| 39007B | ARM-SUSPFRLWRLH&RH | 2 | |
| 39186 | KNUCKLEFRLH | 1 | |
| 39186A | KNUCKLEFRRH | 1 | |
| 59266 | JOINT-BALL | 4 | |
| 92015 | NUT12MM | 8 | |
| 92022 | WASHER | 4 | |
| 92033 | RING-SNAPC-TYPE32MM | 4 | |
| 92092 | BUSHING-RUBBER12X20X | 8 | |
| 92154 | BOLTFLANGED12X100 | 8 | |
| 92210 | NUTCASTLE12MM | 4 |
