| № | Наименование | Примечание | Кол-во |
|---|---|---|---|
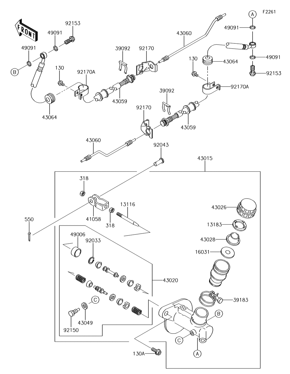
| 130 | BOLT-FLANGED | 2 | |
| 130A | BOLT-FLANGED8X20 | 2 | |
| 318 | NUT-HEX-SMALL8MM | 2 | |
| 550 | PINCOTTER2.5X18 | 1 | |
| 13116 | ROD-PUSH | 1 | |
| 13183 | PLATE | 1 | |
| 16031 | FLOAT | 1 | |
| 39092 | PIN-HAIR | 2 | |
| 41058 | RODEND-BRAKE | 1 | |
| 43020 | PISTON-COMP-BRAKE | 1 | |
| 43026 | CAP-BRAKE | 1 | |
| 43028 | DIAPHRAGM | 1 | |
| 43049 | PACKING | 1 | |
| 43059 | HOSE-BRAKEFR | 2 | |
| 43060 | PIPE-BRAKEFR | 2 | |
| 43064 | DAMPER RUBBER | 2 | |
| 49006 | BOOT | 1 | |
| 49091 | WASHER-SEAL10.1X14.5 | 4 | |
| 92033 | RING-SNAP | 1 | |
| 92043 | PIN | 1 | |
| 92150 | BOLTSTOP | 1 | |
| 92153 | BOLTOILL=23 | 2 | |
| 92170 | CLAMPBRAKE PIPE | 2 | |
| 92170A | CLAMPHOSE | 2 |
