| № | Наименование | Примечание | Кол-во |
|---|---|---|---|
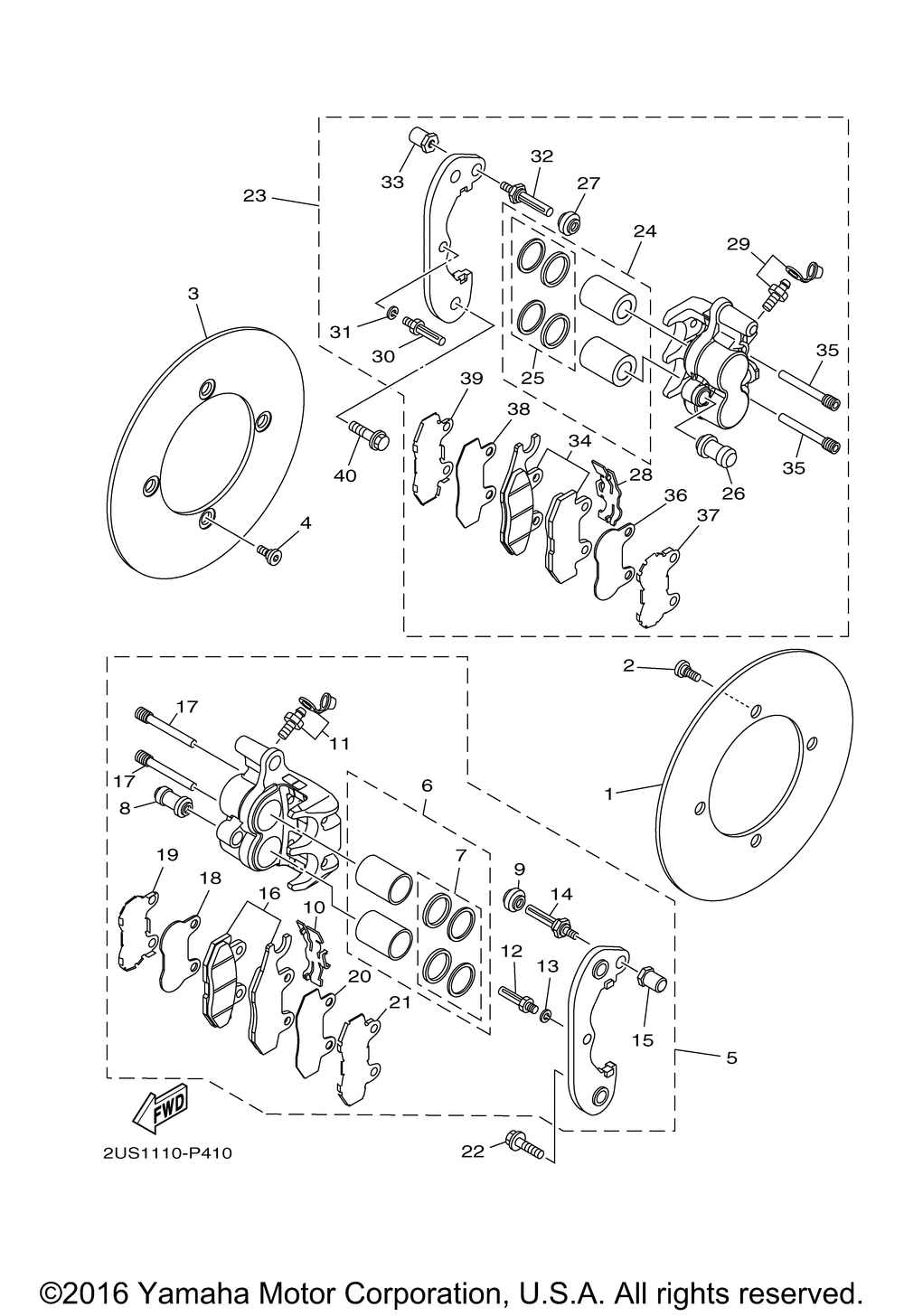
| 1 | DISC BRAKE (LEFT) (LEFT) | 1 | |
| 2 | BOLT | 4 | |
| 5 | CALIPER ASSY REAR | 1 | |
| 6 | PISTON ASSY CALIPER | 1 | |
| 7 | CALIPER SEAL KIT | 1 | |
| 8 | BOOT 2 | 1 | |
| 9 | BOOTCALIPER | 1 | |
| 10 | SPRING PAD | 1 | |
| 11 | BLEED SCREW KIT | 1 | |
| 12 | BOLT | 1 | |
| 13 | WASHER SPRING | 1 | |
| 14 | BOLT | 1 | |
| 15 | NUT | 1 | |
| 16 | BRAKE PAD KIT 2 | 1 | |
| 17 | PIN PAD | 2 | |
| 18 | SHIM CALIPER | 1 | |
| 19 | SHIM CALIPER | 1 | |
| 20 | SHIM CALIPER | 1 | |
| 21 | SHIM CALIPER | 1 | |
| 22 | BOLT FLANGE | 2 | |
| 23 | CALIPER ASSY REAR | 1 | |
| 34 | BRAKE PAD KIT 2 | 1 |
