| № | Наименование | Примечание | Кол-во |
|---|---|---|---|
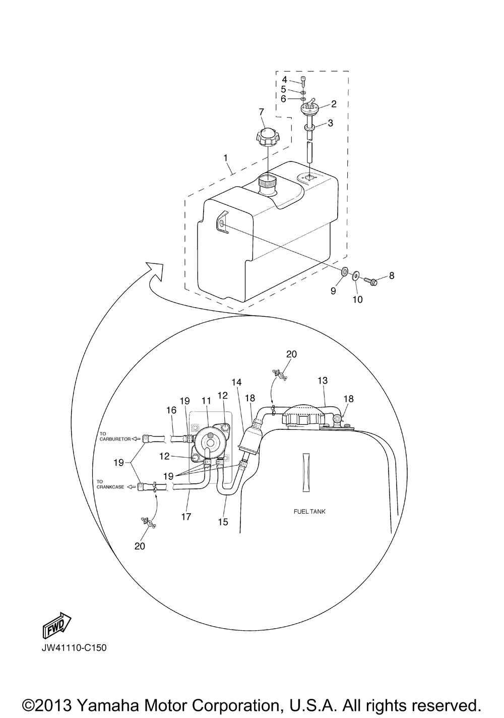
| 1 | TANK FUEL | 1 | |
| 2 | FUEL PIPE JOINT | 1 | |
| 3 | O-RING | 1 | |
| 4 | SCREW PAN | 4 | |
| 5 | WASHER(3SX) | 4 | |
| 6 | WASHER (1RW) | 4 | |
| 7 | CAP ASSY | 1 | |
| 8 | BOLT FLANGE | 2 | |
| 9 | COLLAR | 2 | |
| 10 | WASHERPLATE (5 per pack) | 2 | |
| 11 | FUEL PUMP ASY | 1 | |
| 12 | BOLT SPECIAL | 2 | |
| 13 | PIPE 2 | 1 | |
| 14 | FILTER FUEL INLINE | 1 | |
| 15 | PIPEFUEL 1 | 1 | |
| 16 | PIPE 3 (280MM) | 1 | |
| 17 | PIPE 4 | 1 | |
| 18 | CLIPSCISSOR | 2 | |
| 19 | CLIP (5 per pack) | 6 | |
| 20 | CLAMP | 2 |
