| № | Наименование | Примечание | Кол-во |
|---|---|---|---|
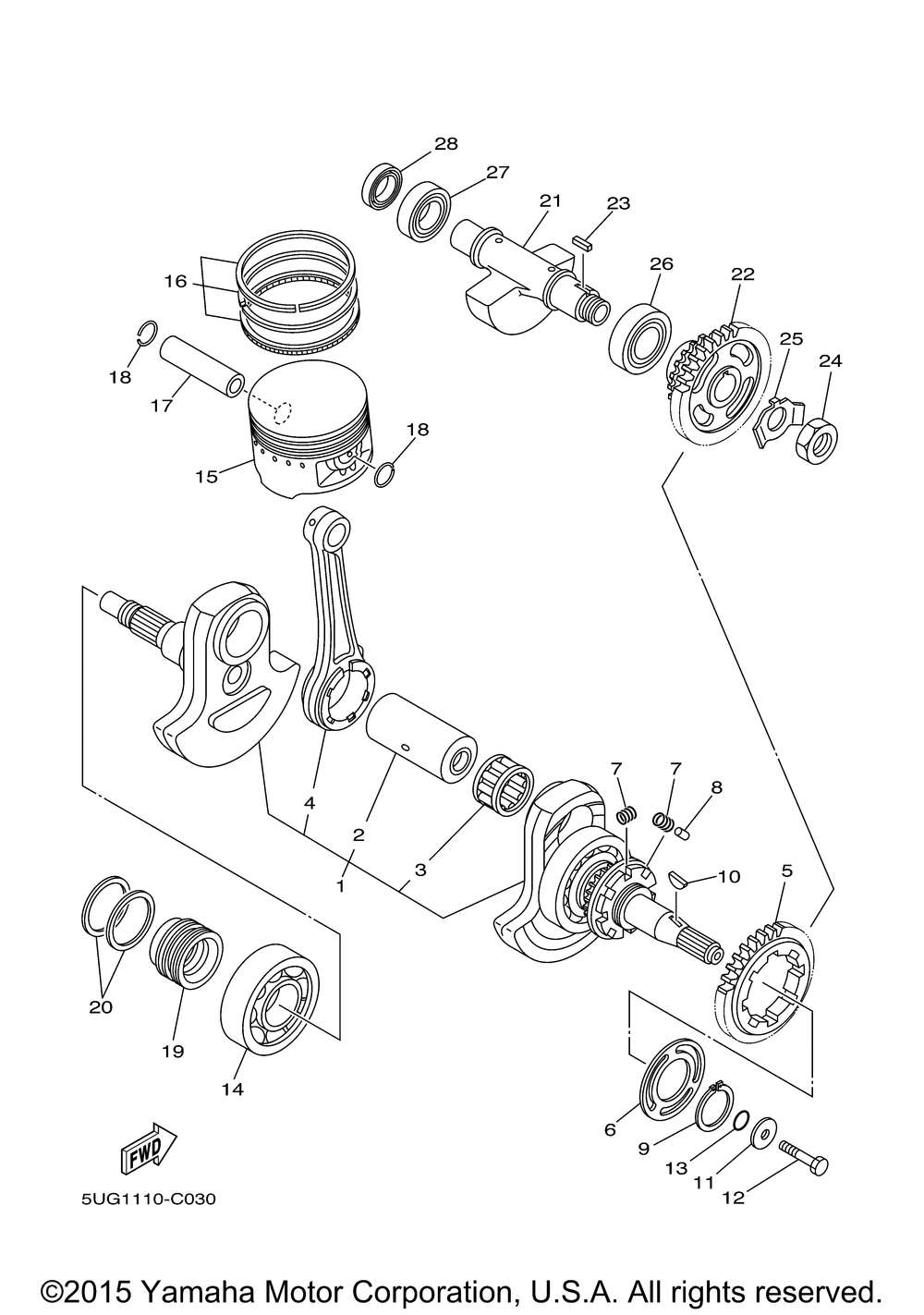
| 1 | CRANKSHAFT ASSY | 1 | |
| 2 | PIN CRANK 1 | 1 | |
| 3 | BEARING | 1 | |
| 4 | ROD CONNECTING | 1 | |
| 5 | GEAR DRIVE | 1 | |
| 6 | WASHER BEARING COVE | 1 | |
| 7 | SPRING COMPRESSION | 8 | |
| 8 | PIN DOWEL (5 per pack) | 4 | |
| 9 | CIRCLIP(6U2) | 1 | |
| 10 | KEY WOODRUFF | 1 | |
| 11 | WASHERPLATE | 1 | |
| 12 | BOLT | 1 | |
| 13 | O-RING | 1 | |
| 14 | BEARING | 1 | |
| 15 | PISTON (STD) (STD) | 1 | |
| 15 | PISTON (0.50MM O/S) (0.50MM OS) AP | 1 | |
| 15 | PISTON (1.00MM O/S) (1.00MM OS) AP | 1 | |
| 16 | PISTON RING SET (STD (STD) | 1 | |
| 16 | PISTON RING SET (STD (STD) | 1 | |
| 16 | PISTON RING SET (0.5 (0.50MM OS) AP | 1 | |
| 16 | PISTON RING SET (0.5 (0.50MM OS) AP | 1 | |
| 16 | PISTON RING SET (1.0 (1.00MM OS) AP | 1 | |
| 16 | PISTON RING SET (1.0 (1.00MM OS) AP | 1 | |
| 17 | PIN PISTON | 1 | |
| 18 | CIRCLIPINNER (5 per pack) | 2 | |
| 19 | SPACER 1 | 1 | |
| 20 | SEAL CRANK | 2 | |
| 21 | WEIGHT 1 | 1 | |
| 22 | BALANCER WEIGHT GEAR | 1 | |
| 23 | KEYSTRAIGHT | 1 | |
| 24 | NUT | 1 | |
| 25 | WASHER LOCK | 1 | |
| 26 | BEARING | 1 | |
| 27 | BEARING (4ED) | 1 | |
| 28 | OIL SEALSD-TYPE | 1 |
