| № | Наименование | Примечание | Кол-во |
|---|---|---|---|
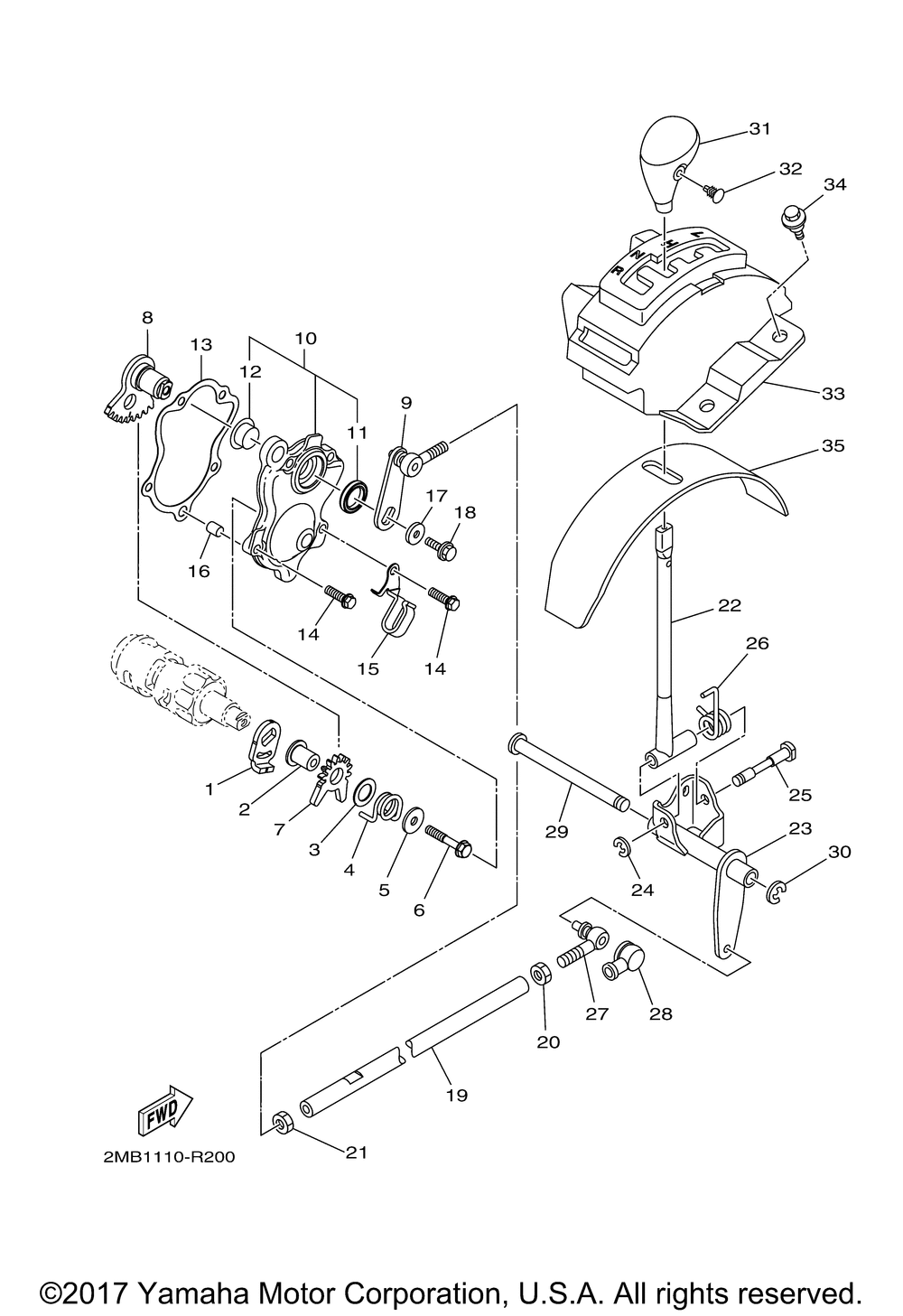
| 1 | LEVER | 1 | |
| 2 | COLLAR SHIFTER | 1 | |
| 3 | WASHER 1 | 1 | |
| 4 | SPRING | 1 | |
| 5 | WASHER 2 | 1 | |
| 6 | BOLT 2 | 1 | |
| 7 | LEVER | 1 | |
| 8 | SHIFT SHAFT COMP. | 1 | |
| 9 | SHIFT GUIDE COMP. | 1 | |
| 10 | SHIFTER BRKT. ASSY | 1 | |
| 11 | OIL SEAL 2 | 1 | |
| 13 | GASKET | 1 | |
| 14 | BOLT 1 | 4 | |
| 15 | CLAMP 2 | 1 | |
| 16 | PIN DOWEL | 1 | |
| 17 | WASHER PLATE | 1 | |
| 18 | BOLTWASHER BASED | 1 | |
| 19 | ROD SHIFT | 1 | |
| 20 | NUTHEXAGON | 1 | |
| 22 | LEVER COMP. 1 | 1 | |
| 23 | ARM SHIFT 2 | 1 | |
| 24 | CIRCLIP | 1 | |
| 25 | SHAFT SHIFT | 1 | |
| 26 | SPRING RETURN | 1 | |
| 27 | JOINT 2 | 1 | |
| 28 | COVERDUST | 1 | |
| 29 | PIN SHIFT | 1 | |
| 30 | CIRCLIP | 1 | |
| 31 | KNOB SHIFT LEVER | 1 | |
| 32 | RIVETSPEC'L SHAPE (5 per pack) | 1 | |
| 33 | GUIDE SHIFT | 1 | |
| 34 | BOLT | 3 | |
| 35 | COVER DUST | 1 |
