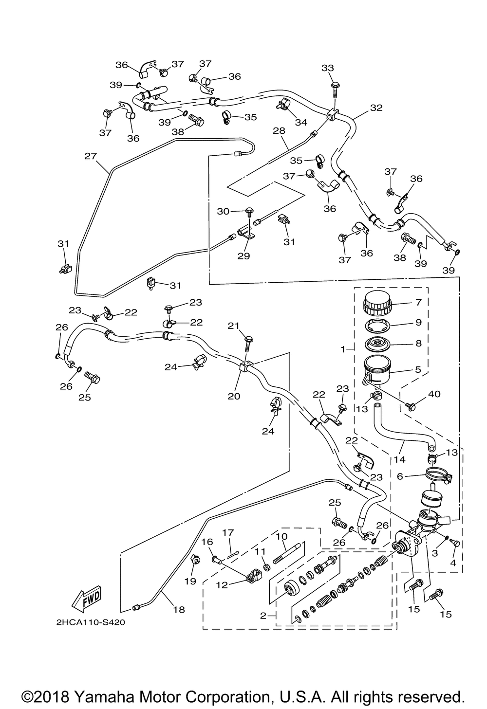
| № | Наименование | Примечание | Кол-во |
|---|---|---|---|
| 1 | MASTER CYLINDER ASSY | 1 | |
| 2 | CYLINDER KIT MAST | 1 | |
| 3 | WASHER OIL BOLT | 1 | |
| 4 | BOLT OIL 1 | 1 | |
| 5 | TANK RESERVOIR | 1 | |
| 6 | BAND | 1 | |
| 7 | CAP RESERVOIR | 1 | |
| 8 | DIAPHRAGM RESERVOIR | 1 | |
| 9 | BUSHDIAPHRAGM | 1 | |
| 10 | PUSH ROD COMP. | 1 | |
| 11 | NUTHEX SMALL | 1 | |
| 12 | JOINT | 1 | |
| 13 | CLIP | 2 | |
| 14 | HOSE | 1 | |
| 15 | BOLT FLANGE | 2 | |
| 16 | PIN CLEVIS | 1 | |
| 17 | Шплинт | 1 | |
| 18 | PIPE BRAKE 2 | 1 | |
| 19 | CLAMP 1 | 1 | |
| 20 | HOSEBRAKE 1 | 1 | |
| 21 | BOLT FLANGE | 1 | |
| 22 | HOLDER BRAKE HOSE 2 | 4 | |
| 23 | BOLTFLANGE | 4 | |
| 24 | CLAMP | 2 | |
| 25 | BOLT UNION | 2 | |
| 26 | WASHERPLATE (5 per pack) | 4 | |
| 27 | PIPE BRAKE | 1 | |
| 28 | PIPE BRAKE 3 | 1 | |
| 29 | JOINT | 1 | |
| 30 | BOLT FLANGE | 1 | |
| 32 | HOSEBRAKE 2 | 1 | |
| 34 | CLAMP | 1 | |
| 35 | CLAMP | 2 | |
| 40 | BOLT WITH WASHER | 1 |
