| № | Наименование | Примечание | Кол-во |
|---|---|---|---|
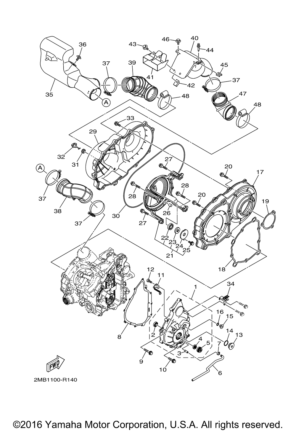
| 1 | CRANKCASE COVER AS | 1 | |
| 2 | BEARING | 1 | |
| 3 | PIPE DRAIN | 1 | |
| 4 | OIL SEAL | 1 | |
| 5 | SEAL MECHANICAL | 1 | |
| 6 | HOSE 5 | 1 | |
| 7 | CLIP | 1 | |
| 8 | GASKET CRANKCASE | 1 | |
| 9 | BOLT 1 | 10 | |
| 10 | BOLT 1 | 1 | |
| 11 | PLATE | 1 | |
| 12 | BOLT | 2 | |
| 13 | PLUG BLIND 2 | 1 | |
| 14 | O-RING | 1 | |
| 15 | PLUG BLIND 2 | 1 | |
| 16 | O-RING | 1 | |
| 17 | COVER CRANKCASE 2 | 1 | |
| 18 | GASKET | 1 | |
| 19 | SEAL CRANKCASE | 1 | |
| 20 | BOLT 2 | 8 | |
| 21 | HOUSING ASSY | 1 | |
| 22 | BEARING | 1 | |
| 23 | OIL SEAL | 1 | |
| 24 | PLATE BEARING COV | 1 | |
| 25 | BOLT 2 | 1 | |
| 26 | PIN DOWEL | 2 | |
| 28 | BOLT 2 | 2 | |
| 29 | COVER CRANKCASE 3 | 1 | |
| 30 | SEAL CRANKCASE | 1 | |
| 31 | GROMMET | 1 | |
| 32 | PLUG DRAIN | 1 | |
| 33 | BOLT | 11 | |
| 34 | GUIDE OIL HOSE | 1 | |
| 35 | DUCT AIR | 1 | |
| 36 | BOLT SPECIAL 1 (2 per pack) | 1 | |
| 37 | CLAMPHOSE | 4 | |
| 38 | SEAL AIR DUCT | 1 | |
| 39 | SEAL AIR DUCT | 1 | |
| 40 | DUCT AIR | 1 | |
| 41 | PLATE | 1 | |
| 42 | NUTSPRING (10 per pack) | 2 | |
| 43 | BOLT WITH WASHER | 2 | |
| 44 | RIVET | 1 | |
| 45 | NUT SPRING | 1 | |
| 47 | SEAL AIR DUCT | 1 | |
| 48 | HOSE CLAMP ASSY | 2 |
