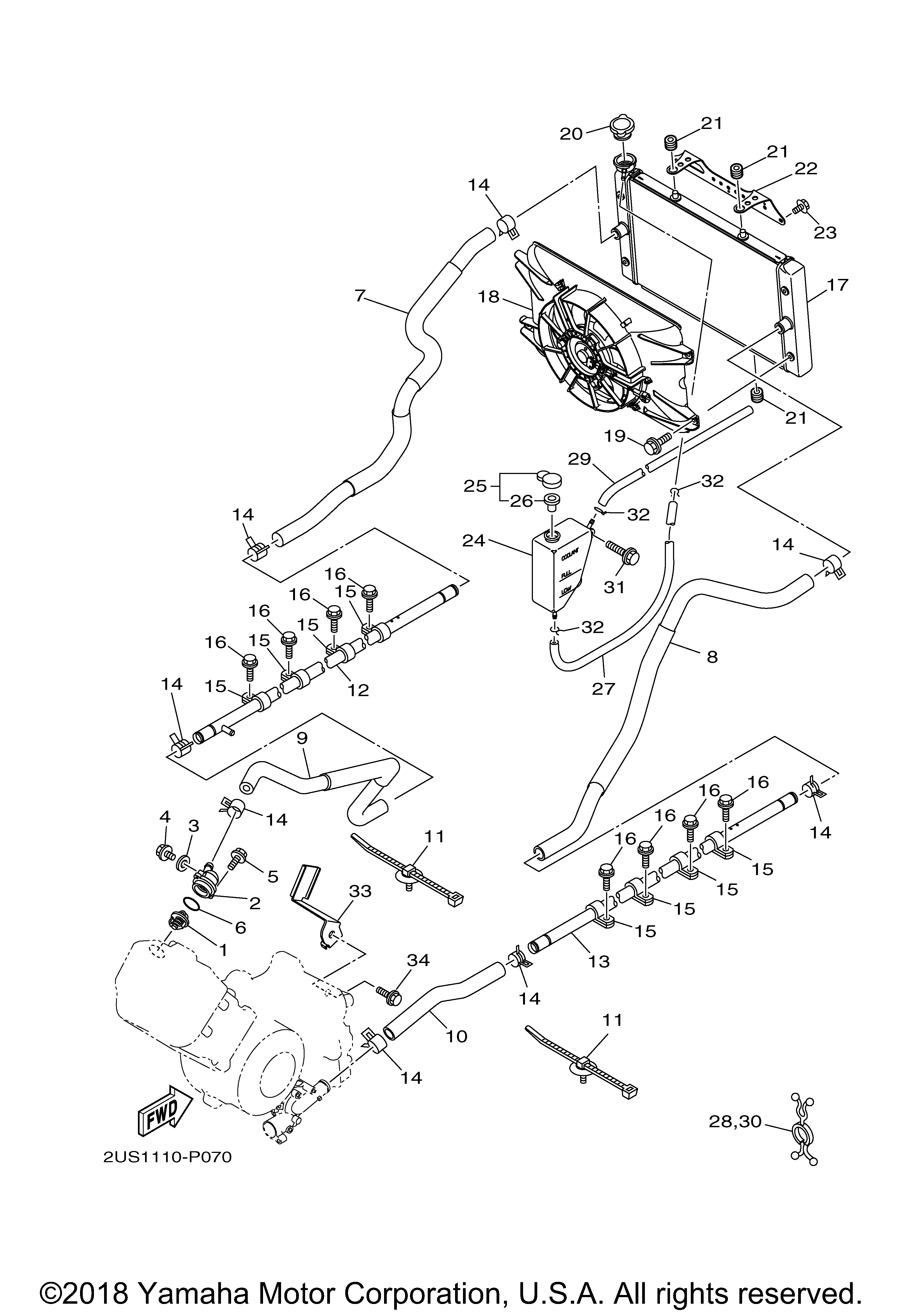
| № | Наименование | Примечание | Кол-во |
|---|---|---|---|
| 1 | THERMOSTAT | 1 | |
| 2 | COVER THERMOSTAT | 1 | |
| 3 | GASKET | 1 | |
| 4 | BOLT FLANGE | 1 | |
| 6 | O-RING | 1 | |
| 7 | HOSE 1 | 1 | |
| 8 | HOSE 2 | 1 | |
| 9 | HOSE 3 | 1 | |
| 10 | HOSE 4 | 1 | |
| 11 | CLAMP | 5 | |
| 12 | PIPE WATER | 1 | |
| 13 | PIPE 3 | 1 | |
| 14 | CLIP | 8 | |
| 15 | CLAMP | 8 | |
| 16 | BOLT FLANGE | 8 | |
| 17 | RADIATOR ASY | 1 | |
| 18 | BLOWER ASSY | 1 | |
| 19 | BOLT BLOWER HOLDI | 4 | |
| 20 | CAP RADIATOR | 1 | |
| 21 | GROMMET | 4 | |
| 22 | BRACKET WATER COO | 1 | |
| 23 | BOLT SPECIAL 1 (2 per pack) | 2 | |
| 24 | TANK RECOVERY | 1 | |
| 25 | CAP | 1 | |
| 26 | GASKET | 1 | |
| 27 | HOSE (L920) (L920) | 1 | |
| 28 | CLAMP(3XV) | 1 | |
| 29 | HOSE (L760) (L760) | 1 | |
| 32 | CLIPSCISSOR (5 per pack) | 3 | |
| 33 | STAY | 1 | |
| 34 | BOLTFLANGE | 1 |
