| № | Наименование | Примечание | Кол-во |
|---|---|---|---|
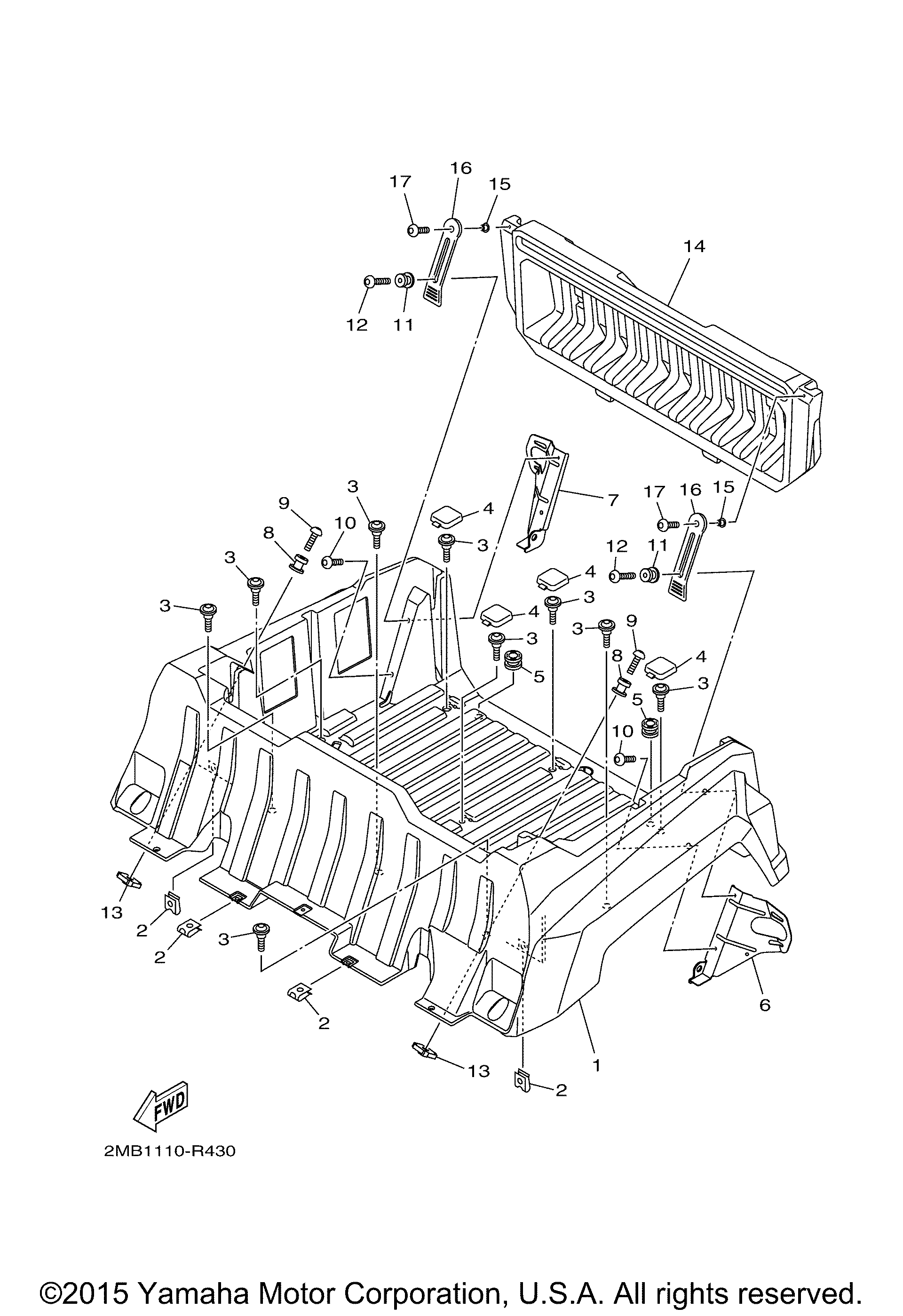
| 1 | BOX | 1 | |
| 2 | NUT SPRING | 4 | |
| 3 | BOLT | 9 | |
| 4 | CAP | 4 | |
| 5 | GROMMET | 2 | |
| 6 | BRACKET TAIL COVE | 1 | |
| 7 | BRACKET TAIL COVE | 1 | |
| 8 | HOLDERLATCH | 2 | |
| 9 | BOLTHEX. SOCKET BUT | 2 | |
| 10 | BOLTHEX. SOCKET BUT | 2 | |
| 13 | NUT | 2 | |
| 14 | CASE | 1 | |
| 15 | COLLAR | 2 | |
| 16 | BODYLATCH 1 | 2 |
| Корзина пуста |
| № | Наименование | Примечание | Кол-во |
|---|---|---|---|
| 1 | BOX | 1 | |
| 2 | NUT SPRING | 4 | |
| 3 | BOLT | 9 | |
| 4 | CAP | 4 | |
| 5 | GROMMET | 2 | |
| 6 | BRACKET TAIL COVE | 1 | |
| 7 | BRACKET TAIL COVE | 1 | |
| 8 | HOLDERLATCH | 2 | |
| 9 | BOLTHEX. SOCKET BUT | 2 | |
| 10 | BOLTHEX. SOCKET BUT | 2 | |
| 13 | NUT | 2 | |
| 14 | CASE | 1 | |
| 15 | COLLAR | 2 | |
| 16 | BODYLATCH 1 | 2 |