| № | Наименование | Примечание | Кол-во |
|---|---|---|---|
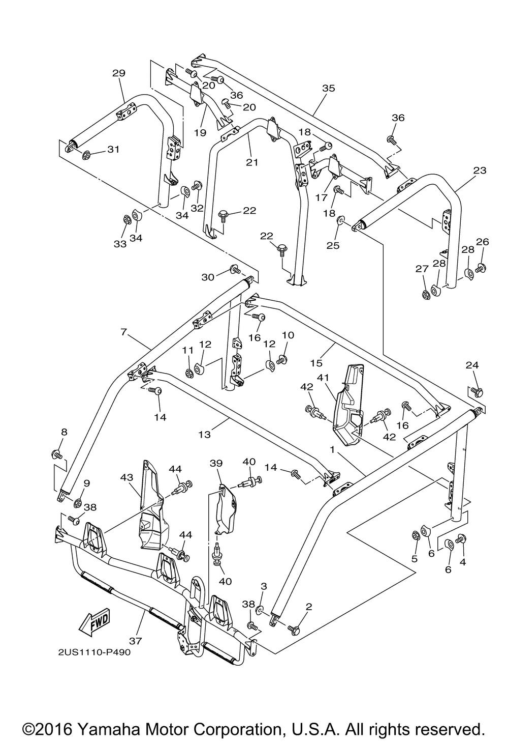
| 1 | SUPPORT ROOF 3 | 1 | |
| 2 | BOLTFLANGE | 2 | |
| 3 | NUT SELF-LOCKING | 2 | |
| 4 | BOLT BUTTON HEAD | 1 | |
| 6 | WASHER 2 | 2 | |
| 7 | SUPPORT ROOF 4 | 1 | |
| 13 | MEMBER ROOF FRAME | 1 | |
| 14 | BOLTHEX. SOCKET B | 4 | |
| 15 | MEMBER ROOF FRAME | 1 | |
| 17 | SUNROOF PIPE ASSY | 1 | |
| 19 | SUNROOF PIPE ASSY | 1 | |
| 21 | ROOF SUPPORT ASSY | 1 | |
| 22 | BOLT FLANGE | 4 | |
| 23 | FRAME SUNROOF 1 | 1 | |
| 29 | FRAME SUNROOF 2 | 1 | |
| 35 | MEMBER ROOF FRAME | 1 | |
| 37 | ROOF SUPPORT ASSY | 1 | |
| 39 | COVER 4 | 1 | |
| 40 | RIVET | 3 | |
| 41 | COVER SIDE PILLAR (L.H) | 1 | |
| 43 | COVER SIDE PILLAR (R.H) | 1 |
