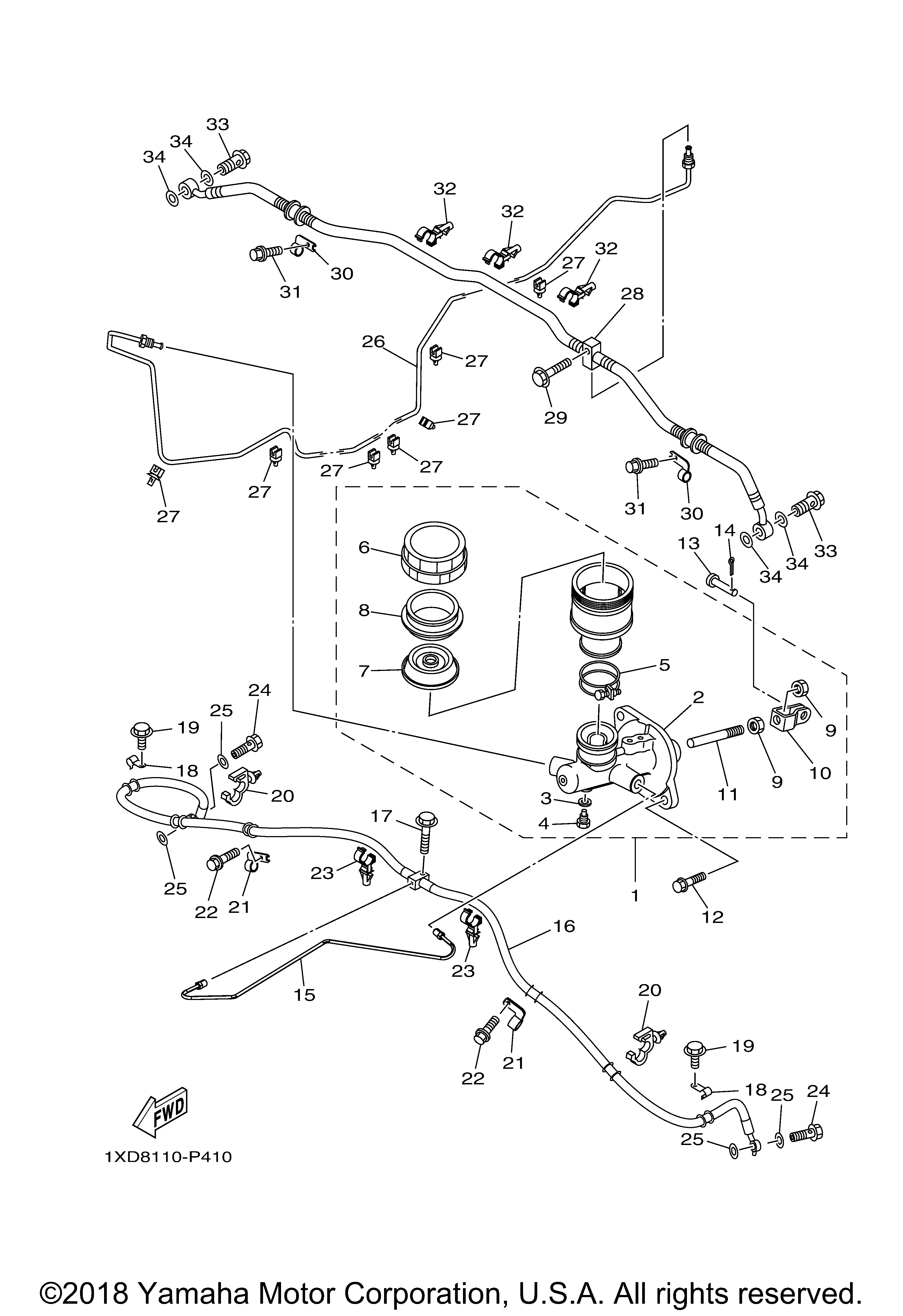
| № | Наименование | Примечание | Кол-во |
|---|---|---|---|
| 1 | MASTER CYLINDER AS | 1 | |
| 2 | CYLINDER KIT MAST | 1 | |
| 3 | WASHER OIL BOLT | 1 | |
| 4 | BOLT OIL 1 | 1 | |
| 5 | BAND | 1 | |
| 6 | CAP RESERVOIR | 1 | |
| 7 | DIAPHRAGM RESERVOIR | 1 | |
| 8 | BUSHDIAPHRAGM | 1 | |
| 9 | NUTHEX SMALL | 2 | |
| 10 | JOINT | 1 | |
| 11 | PUSH ROD COMP. | 1 | |
| 12 | BOLT FLANGE | 2 | |
| 13 | PIN CLEVIS | 1 | |
| 14 | Шплинт | 1 | |
| 15 | PIPE BRAKE 2 | 1 | |
| 16 | HOSE BRAKE 1 | 1 | |
| 17 | BOLTFLANGE | 1 | |
| 18 | HOLDER BRAKE HOSE 1 | 2 | |
| 19 | BOLTFLANGE | 2 | |
| 20 | CLAMP | 2 | |
| 21 | HOLDER BRAKE HOSE | 2 | |
| 23 | CLAMP | 2 | |
| 24 | BOLT UNION | 2 | |
| 25 | WASHERPLATE (5 per pack) | 4 | |
| 26 | PIPE BRAKE | 1 | |
| 27 | CLAMP 1 | 7 | |
| 28 | HOSE BRAKE 2 | 1 | |
| 29 | BOLT FLANGE | 1 |
