| № | Наименование | Примечание | Кол-во |
|---|---|---|---|
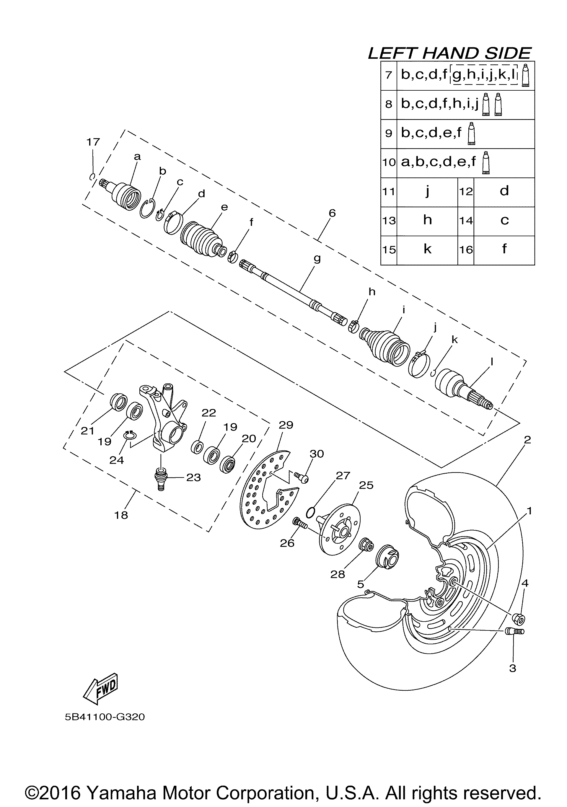
| 1 | FRONT RIM (12 X 6.0 | 1 | |
| 2 | AT25 X 8.00 -12 (25X8.00-12 M951Y TL) CHENG SHIN | 1 | |
| 3 | VALVE RIM (TR413) MAXXIS | 1 | |
| 4 | NUT | 4 | |
| 5 | CAP WHEEL | 1 | |
| 6 | DRIVE SHAFT ASSY | 1 | |
| 7 | BALL JOINT SET | 1 | |
| 8 | BOOT SET (BALL JOINT (BALL JOINT) | 1 | |
| 9 | BOOT SET(OFFSET JOIN | 1 | |
| 10 | DOUBLE OFFSET JOINT | 1 | |
| 11 | BOOT BAND (BALL JOIN (BALL JOINT) | 1 | |
| 12 | BOOT BAND(DOUBLE OFF (DOUBLE OFFSET JOINT) | 1 | |
| 13 | BOOT BAND (SMALL) (SMALL) | 1 | |
| 14 | SNAP RING | 1 | |
| 15 | CIRCLIP | 1 | |
| 16 | BAND RIM (SMALL) | 1 | |
| 17 | CIRCLIPINNER (5 per pack) | 1 | |
| 18 | STEERING KNUCKLE (L) (LEFT) | 1 | |
| 19 | BEARING | 2 | |
| 20 | OIL SEAL | 1 | |
| 21 | OIL SEAL | 1 | |
| 22 | COLLAR | 1 | |
| 23 | BALL JOINT 1 | 1 | |
| 24 | CIRCLIPS-TYPE (10 per pack) | 1 | |
| 25 | HUB FRONT | 1 | |
| 26 | BOLT SERRATION | 4 | |
| 27 | O-RING (5 per pack) | 1 | |
| 28 | NUT | 1 | |
| 29 | RING WHEEL 1 (LEF | 1 | |
| 30 | SCREWSPEC'L SHAPE | 2 |
