| № | Наименование | Примечание | Кол-во |
|---|---|---|---|
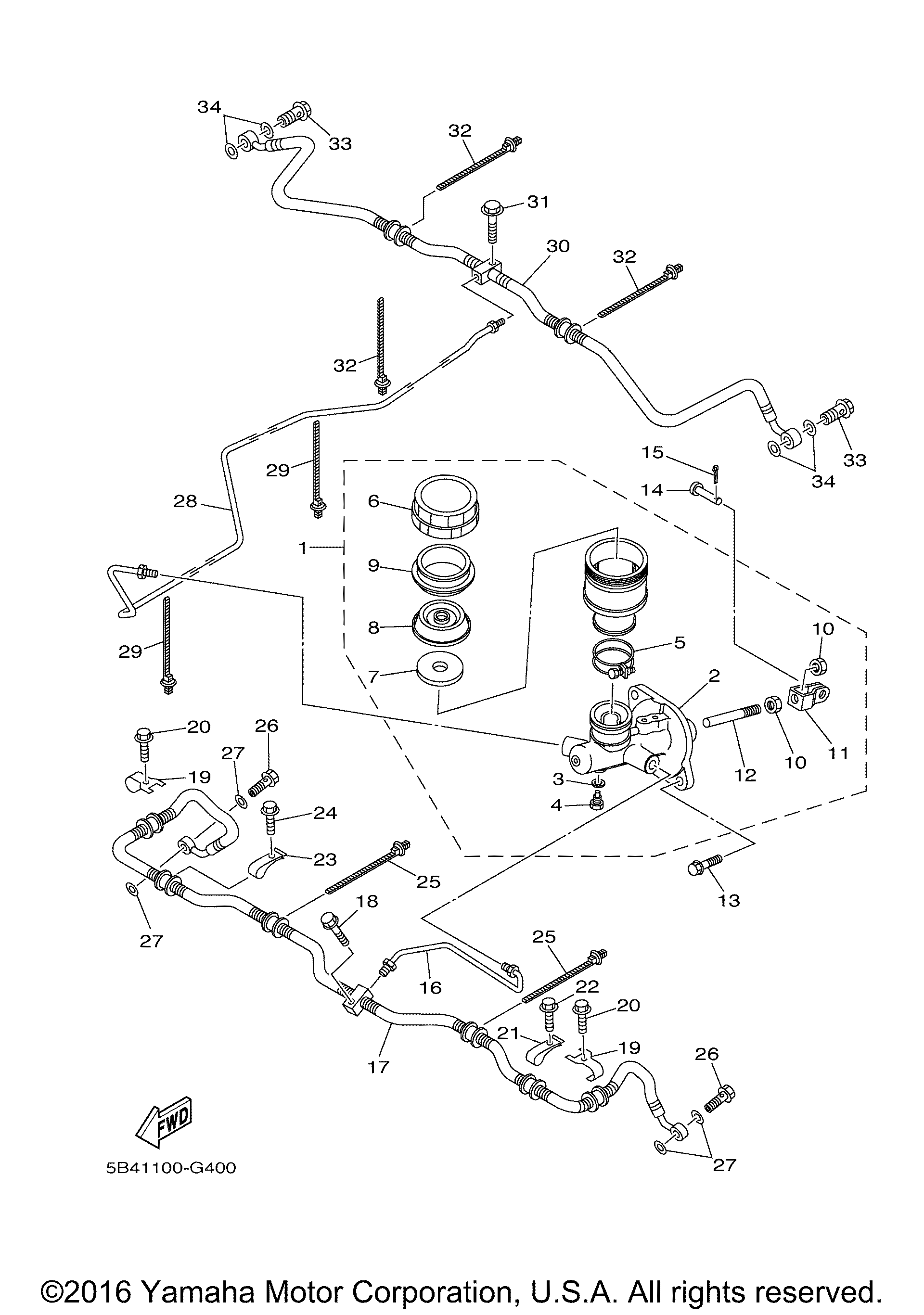
| 1 | MASTER CYLINDER ASSY | 1 | |
| 2 | CYLINDER KIT MASTER | 1 | |
| 3 | WASHER OIL BOLT | 1 | |
| 4 | BOLT OIL 1 | 1 | |
| 5 | BAND | 1 | |
| 6 | CAP RESERVOIR | 1 | |
| 7 | FLOAT RESERVOIR | 1 | |
| 8 | DIAPHRAGM RESERVOIR | 1 | |
| 9 | BUSHDIAPHRAGM | 1 | |
| 10 | NUTHEX SMALL | 2 | |
| 11 | JOINT | 1 | |
| 12 | PUSH ROD COMP. | 1 | |
| 13 | BOLT FLANGE | 2 | |
| 14 | PIN CLEVIS | 1 | |
| 15 | Шплинт | 1 | |
| 16 | PIPEBRAKE 2 | 1 | |
| 17 | HOSEBRAKE 1 | 1 | |
| 18 | BOLT FLANGE | 1 | |
| 19 | HOLDER BRAKE HOSE | 2 | |
| 20 | BOLT FLANGE | 2 | |
| 21 | BAND | 2 | |
| 22 | BOLTFLANGE | 2 | |
| 25 | CLAMP | 2 | |
| 26 | BOLT UNION | 2 | |
| 27 | WASHERPLATE (5 per pack) | 4 | |
| 28 | PIPE BRAKE | 1 | |
| 30 | HOSEBRAKE 2 | 1 |
