Оригинальные каталоги
Масла и жидкости
Масла моторные
Масла трансмиссионные
Жидкости гидравлические
Жидкости охлаждающие
Жидкости тормозные
Масла гидравлические
Масла для вилок и амортизаторов
Масла компрессорные
Жидкости для стекол
Масла для цепей бензопил
Масла индустриальные
Масла промывочные
Раствор мочевины AdBlue
Автоэлектроника
Видеорегистраторы
Пылесосы автомобильные
FM трансмиттеры
Зарядные устройства
Разветвители, удлинители прикуривателя
Кабели
Вентиляторы автомобильные
Штекер прикуривателя
Датчик парктроника
Камеры заднего вида
Мониторы парковочные
Парктроники
Термометры
Накидки на сиденье с подогревом
Автохолодильники
Антирадары
Диагностический сканер
Аксессуары
Набор автомобилиста
Ароматизаторы
Тросы буксировочные
Канистры
Ремни крепления груза
Стяжки-резинки крепления
Сетки для крепления груза
Скотч
Влажные салфетки
Держатели телефонов, планшетов
Карты памяти
Наушники
Аккумулятор холода
Термосумки и контейнеры
Фонарики
Батарейки
Оплетки на руль
Огнетушители
Салфетки, полотенца, варежки
Инструмент
Домкраты
Компрессоры
Манометры
Насосы
Светильники переносные
Шарнирно-губцевый инструмент
Ударный инструмент
Метчики. Плашки
Заклёпочники
Заклёпки
Измерительный инструмент
Свёрла
Отвёртки
Изолента
Надфили. Напильники
Ножи, ножовки
Щётки
Абразивная бумага
Специнструмент
Ключи
Хомуты
Дрель-шуруповерт
Автохимия
Присадки
Промывки
Очистители
Смазки спрей
Смазки пластичные
Герметики
Средство для рук
Клей
Лакокрасочные материалы
Автошампуни
Полироли
Антифриз для тормозной системы
Масло для пропитки фильтров
Антикоррозионные составы
Прочее
Электрооборудование
Зарядные устройства
Инверторы
Конвертеры
Звуковые сигналы
Провода прикуривания
Предохранители
Противотуманные фары
Дневные ходовые огни
Электрика фаркопа
Шины и диски
Автошины
Грузовые шины
Мотошины
Камеры
Мотокамеры
Лента обода шины
Колпаки
Диски
Одежда и экипировка
Жилеты
Запчасти
Аккумуляторы
Лампы
Щетки стеклоочистителя
Гофры глушителя
Велотовары
Велосипеды
Самокаты
Велокамеры
Искать по VIN или номеру детали
Поиск по штрих-коду
Искать по VIN-номеру
Войти
Авторизация
Логин
Пароль
Напомнить пароль
Запомнить
Войти
Зарегистрироваться
Авторизоваться другим способом
Востановить пароль
Введите ваш email:
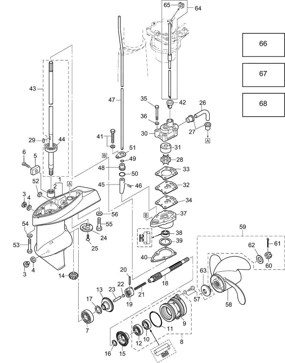
17-1_GEARCASE
Корзина пуста
Evinrude
4 PORTABLE B4R4AAA
4 PORTABLE B4R4AAA
17-1_GEARCASE
№
Наименование
Примечание
Кол-во
LOWER UNIT ASSY S 15 in. Models
1
LOWER UNIT ASSY L 20 in. Models
1
1
GEAR CASE ASSY 15 in. Models
1
2
ROLLER BEARING
1
3
PLUG
2
4
GASKET
2
5
ANODE
1
6
BOLT
1
7
BALL BEARING
1
8
PROP SHFT HOUS ASY
1
9
PROP SHAFT HOUSING
1
10
OIL SEAL
1
11
O-RING
1
12
BALL BEARING
1
13
BEVEL GEAR ASSY A
1
14
BEVEL GEAR B
1
15
BEVEL GEAR ASSY C
1
16
WASHER
1
17
SHIM
0
17
SHIM
0
18
PROPELLER SHAFT
1
19
CLUTCH
1
20
PIN (010 per pack)
1
21
SPRING
1
22
SPRING RETAINER
1
23
PUSH ROD
1
24
WATER STRAINER
1
25
SCREW
1
26
WATER PIPE (LOWER)
1
27
SEAL
2
28
WTR PUMP IMPELLER
1
29
KEY
1
30
PUMP CASE (UPPER)
1
31
PUMP CASE LINER
1
32
WTR PUMP GUIDE PLT
1
33
PUMP CASE GASKET
1
34
GUIDE PLATE GASKET
1
35
BOLT
4
36
WASHER
4
37
PUMP CASE (LOWER)
1
38
OIL SEAL
1
40
PUMP CASE GSKT LOW (010 per pack)
1
41
BOLT
1
42
WTR PIPE SEAL LOW
1
43
DRV SHAFT ASSY (S) 15 in. Models
1
43
DRV SHAFT ASSY (L) 20 in. Models
1
43
DRV SHAFT ASSY UL 25 in. Models
1
44
BALL BEARING
1
45
CLUTCH CAM
1
46
SPRING PIN
1
47
CAM ROD (L) 20 in. Models
1
47
CAM ROD (S) 15 in. Models
1
47
CAM ROD (UL) 25 in. Models
1
48
CAM ROD BUSHING (010 per pack)
1
49
O-RING
1
50
O-RING 10-PK (010 per pack)
1
51
STOPPER (010 per pack)
1
54
WASHER
1
55
BOLT
1
56
WASHER
1
57
BOLT
2
58
PROP AYAL 7.8X7 3 blade 7.8 in. diameter x 7 in pitch Standard 4 HP
1
58
PROP AYAL 7.8X8 3 blade 7.8 in. diameter x 8 in pitch Standard 6 HP
1
58
PROP AYAL 7.8X9 3 blade 7.8 in. diameter x 9 in pitch Optional
1
59
PROP HARDWARE KIT
1
60
PROPELLER NUT
1
61
SPLIT PIN
1
62
WASHER
1
63
THRUST HOLDER ASSY
1
64
WTR PIPE ASSY (S) 15 in. Models
1
64
WTR PIPE ASSY (L) 20 in. Models
1
64
WTR PIPE ASSY (UL) 25 in. Models
1
65
GROMMET (010 per pack)
1
66
WTR PMP REPAIR KIT
1
67
WTR PMP KT CHR PLT
1
68
LOW UNIT GSKT SET
1