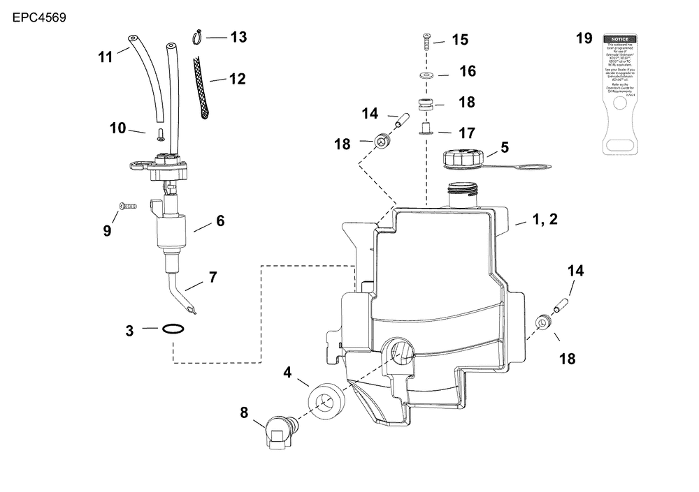
03-6_OIL TANK & PUMP

Корзина пуста