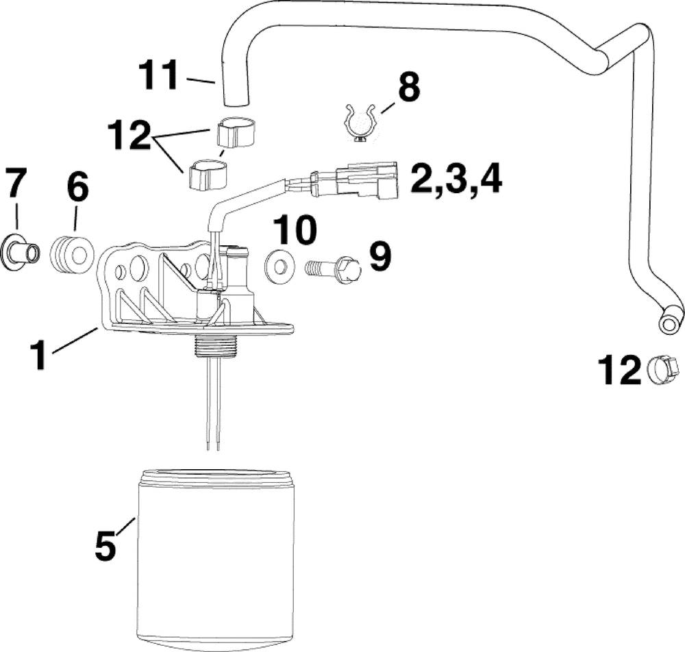
| № | Наименование | Примечание | Кол-во |
|---|---|---|---|
| 1 | FILTERFUEL GE | 1 | |
| 2 | CONTACTTAB | 2 | |
| 3 | SEALWIRE | 2 | |
| 4 | CONN2 POSN CAP | 1 | |
| 5 | FILTER AYFUEL | 1 | |
| 6 | ISOLATOR Fuse & Relay bracket mounting | 2 | |
| 7 | SPACERFLANGED | 2 | |
| 8 | CLIP Water pressure sensor connector TNT connector CPS connector | 1 | |
| 9 | SCREW | 2 | |
| 10 | WASHER Negative battery stud to center frame | 2 | |
| 11 | HOSE | 1 | |
| 12 | CLAMPEAR-17.0MM (005 per pack) | 3 |
