| № | Наименование | Примечание | Кол-во |
|---|---|---|---|
| NS | SCREW M6X16 | 1 | |
| NS | TIE STRAP 100PK (100 per pack) | 1 | |
| NS | SCREW M8X20 | 1 | |
| NS | CLAMP Rope start models | 1 | |
| NS | CLAMP Rope start models | 1 | |
| NS | NUTPUSH | 2 | |
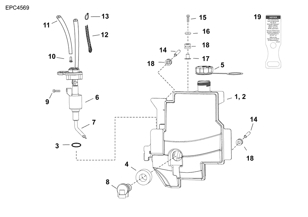
| 1 | KITOIL TANK AY | 1 | |
| 2 | KITOIL TANK 15-30 | 1 | |
| 3 | O-RING | 1 | |
| 4 | GROMMET | 1 | |
| 5 | CAP AYOIL TANK | 1 | |
| 6 | KITOIL PMP & MANI | 1 | |
| 7 | AYSCREEN & TUBE | 1 | |
| 8 | LEVEL SWITCH | 1 | |
| 9 | SCREW Water deflector to center frame | 1 | |
| 10 | SUPPORT TUBE | 4 | |
| 11 | HOSE 25'(BLU) 0.093 in. (2.36 mm) diameter | 0 | |
| 12 | FLEX HOSE/WIRE CVR Bulk Roll | 0 | |
| 13 | TIE STRAP 100PK (100 per pack) | 4 | |
| 14 | PIN | 2 | |
| 15 | SCREW M6X25 M6 x 25 | 1 | |
| 16 | WASHER 6-300 | 1 | |
| 17 | SPACERFLANGED | 1 | |
| 18 | ISOLATOR Fuse & Relay bracket mounting | 3 | |
| 19 | TAGIDENTIFICATION | 1 | |
| 20 | TAGIDENTIFICATION | 1 | |
| 21 | TAGIDENTIFICATION Attach to filler neck of 1.8 and 3.0 gallon remote oil tanks. | 1 |
