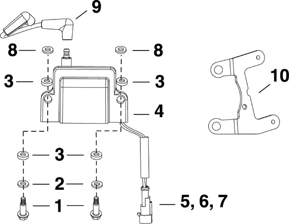
| № | Наименование | Примечание | Кол-во |
|---|---|---|---|
| NS | TIE STRAP 100PK (100 per pack) | 1 | |
| NS | CLIPMOUNTING Ignition coil connector to bracket | 1 | |
| NS | SP PL QC10WEP-4PK (004 per pack) | 2 | |
| 1 | SCREWSHOULDER | 4 | |
| 2 | WASHER 8-200 | 4 | |
| 3 | WASHERRUBBER | 8 | |
| 4 | COIL AYIGNITION | 2 | |
| 5 | CONTACTTAB | 3 | |
| 6 | SEALWIRE | 3 | |
| 7 | CONN3 POSN CAP Water pressure | 1 | |
| 8 | WASHER 6-300 | 4 | |
| 9 | LEAD AYH/T-SUPP | 2 | |
| 10 | BRACKET | 1 |
