| № | Наименование | Примечание | Кол-во |
|---|---|---|---|
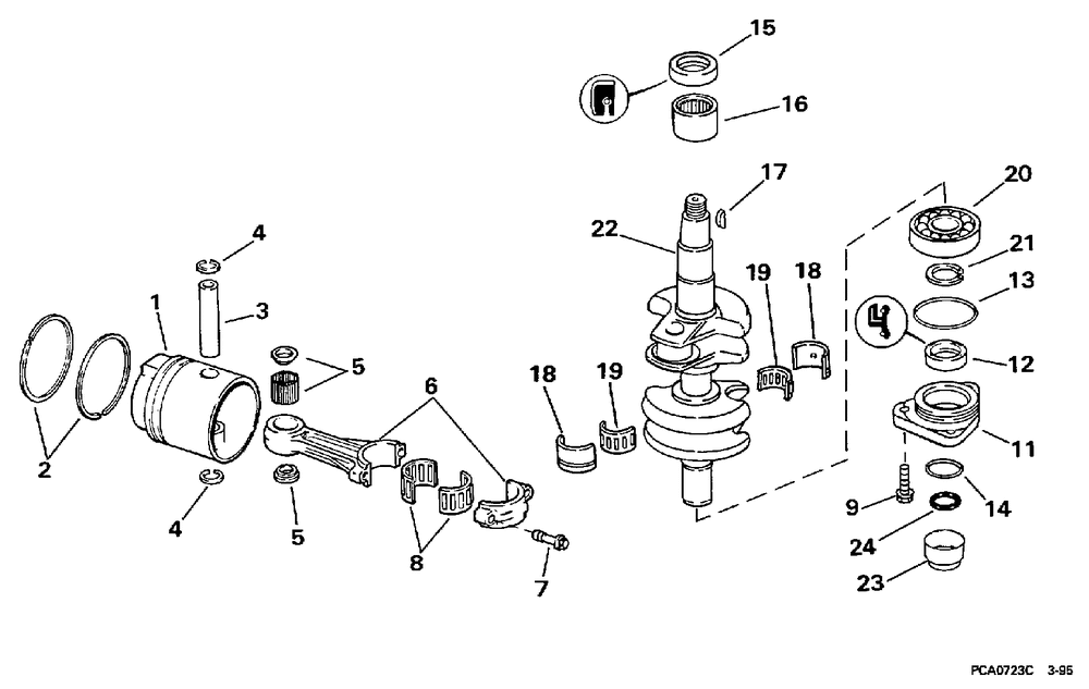
| 1 | PISTON & RING KIT | 2 | |
| 1 | PISTON & RING KIT | 2 | |
| 2 | PSTN RING SET STD | 2 | |
| 2 | RING SET .030" OS | 2 | |
| 3 | WRIST PIN | 2 | |
| 4 | CIRCLIP (010 per pack) | 4 | |
| 5 | RET & BEARING KIT | 2 | |
| 6 | ROD AYCONNECTING | 2 | |
| 7 | SCREW (012 per pack) | 2 | |
| 8 | KIT AYBEARING | 2 | |
| 9 | SCREW | 3 | |
| 11 | Детать | 1 | |
| 12 | SEAL AY Included with Powerhead Gasket and Seal Kit | 1 | |
| 13 | O-RING (005 per pack) | 1 | |
| 14 | O RING Contents of Gearcase Seal Kit | 1 | |
| 15 | SEAL-CRANKSHAFT | 1 | |
| 16 | BEARING AY | 1 | |
| 17 | KEY (005 per pack) | 1 | |
| 18 | Детать | 1 | |
| 19 | RET & NDLE AY | 1 | |
| 20 | BEARING-C-SHAFT | 1 | |
| 21 | RING | 1 | |
| 22 | Детать | 1 | |
| 23 | SLEEVE | 1 | |
| 24 | O-RING | 1 | |
| 0435492 | Not Shown | 1 |
