| № | Наименование | Примечание | Кол-во |
|---|---|---|---|
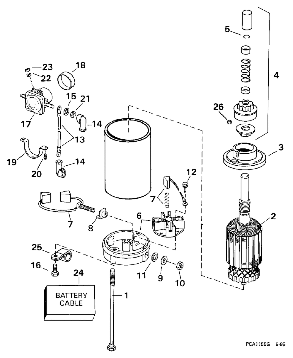
| 1 | BOLT | 1 | |
| 2 | With Snap Ring Starter Drive Retention | 1 | |
| 3 | CAPDRIVE | 1 | |
| 4 | KIT DRIVE 11TOOTH | 1 | |
| 5 | RINGSTARTER DRIVE | 1 | |
| 6 | KIT AYCOM END CAP | 1 | |
| 7 | BRUSH & SPRG | 1 | |
| 8 | BUSHING | 1 | |
| 9 | Детать | 1 | |
| 10 | NUT-SPARK ADJ | 1 | |
| 11 | WASHER | 1 | |
| 12 | Детать | 2 | |
| 13 | FF CABLE AY | 1 | |
| 14 | CVRBATTERY CABLE | 2 | |
| 15 | LOCKWASHER | 3 | |
| 16 | SCREW | 1 | |
| 17 | SOLENOID AYSTART | 1 | |
| 18 | SLEEVE | 1 | |
| 19 | CLAMP | 1 | |
| 20 | SCREW | 2 | |
| 21 | NUT | 3 | |
| 22 | LOCKWASHER | 2 | |
| 23 | NUT.190X32 BRASS | 2 | |
| 24 | CABLE AYBATTERY | 1 | |
| 25 | CLAMP | 1 | |
| 26 | SEAL-STARTER | 2 | |
| 0585061 | MOTOR AY STARTER Not Shown | 1 |
