| № | Наименование | Примечание | Кол-во |
|---|---|---|---|
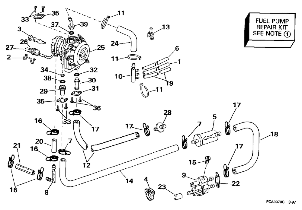
| 2 | RETAINER | 1 | |
| 3 | MOUNT-INSOLATION | 3 | |
| 4 | SNAP CLAMP tahos_6 25PK (025 per pack) | 1 | |
| 5 | FILTER AYFUEL | 1 | |
| 7 | CLAMPWIRE-.625 | 2 | |
| 8 | SIGHT TUBE OIL | 1 | |
| 9 | Детать | 1 | |
| 10 | MANIFOLD AYFUEL | 1 | |
| 11 | TIE STRAP 100PK (100 per pack) | 0 | |
| 12 | HOSE | 1 | |
| 13 | PLUG HOLDER | 1 | |
| 15 | SCREW | 1 | |
| 16 | CLAMPWIRE-.500 | 4 | |
| 17 | CLAMPWIRE-.562 | 4 | |
| 18 | HOSE | 1 | |
| 22 | SEAL 15KC Models Only | 1 | |
| 23 | PLUG PUMP HSG | 1 | |
| 24 | HOSE | 1 | |
| 25 | KIT AYF PUMP&LMTR See Accessories Parts Catalog for Repair Kit Part Numbers | 1 | |
| 26 | CONNECTOR | 1 | |
| 27 | TERMSCKT (010 per pack) | 4 | |
| 28 | PULSE LMTR-W/THRDS | 1 | |
| 29 | FITTINGFUEL INLET | 1 | |
| 30 | FITTINGFUEL-INLET | 1 | |
| 31 | RETAINER | 1 | |
| 32 | O-RING | 1 | |
| 33 | SCREW | 4 | |
| 34 | VALVE | 1 | |
| 35 | RETAINER | 2 | |
| 36 | SCREW | 2 | |
| 37 | O-RING | 1 | |
| 38 | O-RING | 1 | |
| 39 | ELBOW | 1 |
