| № | Наименование | Примечание | Кол-во |
|---|---|---|---|
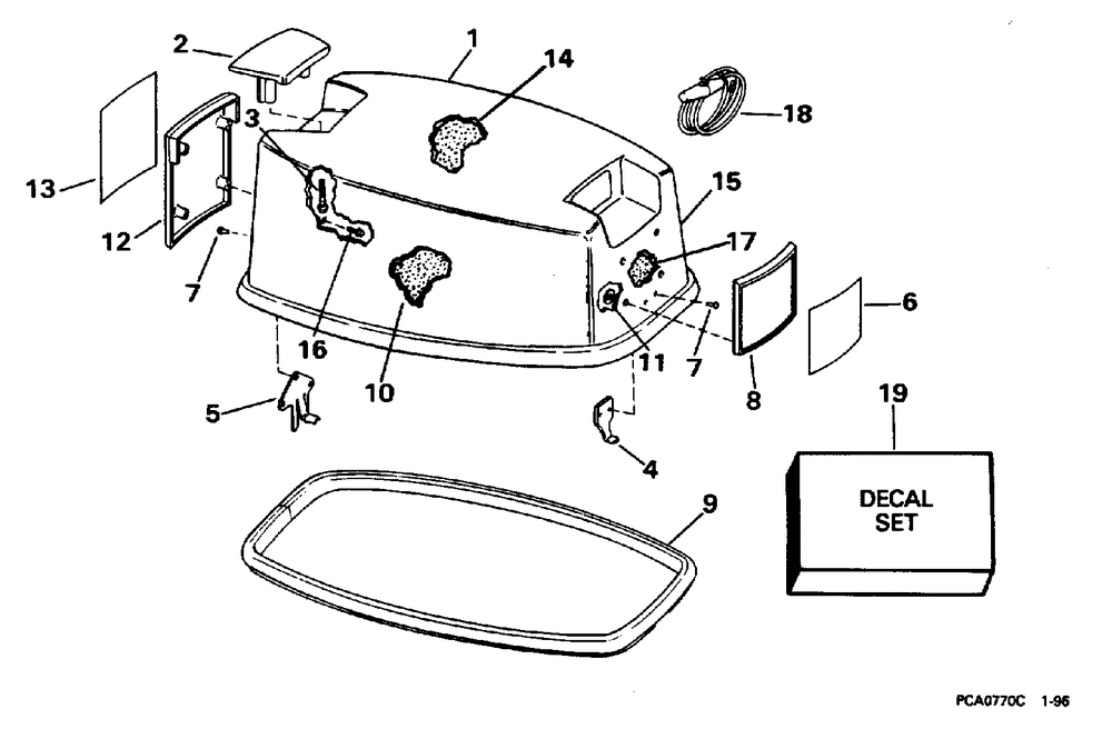
| 1 | COVER AYMOTOR-UPR 25E - 25EL Smoke | 1 | |
| 1 | 25ER - 25ERL 25E - 25EL White | 1 | |
| 1 | 30E - 30EL White | 1 | |
| 1 | COVER AYMOTOR-UPR 30E - 30EL Smoke | 1 | |
| 1 | COVER AYMOTOR-UPR 20SE - 20SEL White | 1 | |
| 2 | TILT HDLE-MTR CVR Fiberglass Cover . | 1 | |
| 3 | *SCREW Duct to cover | 2 | |
| 4 | HOOK FRONT MTR CVR | 1 | |
| 5 | HOOK-MOTOR COVER | 1 | |
| 6 | PLATE 30TE 30TEL | 1 | |
| 6 | 20SR - 20SRL | 1 | |
| 6 | 25RD | 1 | |
| 6 | 25TE 25TEL | 1 | |
| 6 | 30E - 30EL Smoke | 1 | |
| 7 | RIVET | 5 | |
| 8 | FRAME | 1 | |
| 8 | SJ25RD Only . BJ30BA Only . | 1 | |
| 9 | SEAL MTR CVRBLK | 1 | |
| 10 | Детать | 1 | |
| 11 | NUTPUSH ON | 0 | |
| 12 | FRAME | 1 | |
| 12 | SJ25RD Only . BJ30BA Only . | 1 | |
| 13 | 20SR - 20SRL | 1 | |
| 13 | 30E - 30EL Smoke | 1 | |
| 13 | 25TE 25TEL | 1 | |
| 13 | PLATE 30TE 30TEL | 1 | |
| 13 | 25RD | 1 | |
| 14 | Детать | 1 | |
| 15 | BLANKETSOUND | 1 | |
| 16 | SCREW | 4 | |
| 17 | BLANKETSOUND | 1 | |
| 18 | ROPE & HNDL | 1 | |
| 19 | 30BA - 30BAL | 1 | |
| 19 | 25RD 25BR - 25BRL | 1 | |
| 19 | 20SR - 20SRL | 1 | |
| 19 | 25RA - 25RAL - 25BA - 25BAL | 1 |
