| № | Наименование | Примечание | Кол-во |
|---|---|---|---|
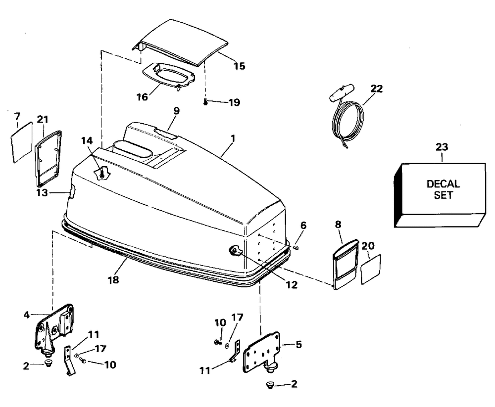
| 1 | 50BE - 50BEL - 50TL - 50TEL White | 1 | |
| 1 | 50BE - 50BEL - 50TL - 50TEL Smoke | 1 | |
| 1 | 50JE Smoke | 1 | |
| 2 | BUMPER | 2 | |
| 4 | BRACKET | 1 | |
| 5 | BRACKET | 1 | |
| 6 | RIVET | 6 | |
| 7 | 50BE - 50BEL - 50TL - 50TEL White | 1 | |
| 7 | 50BE - 50BEL - 50TL - 50TEL Smoke | 1 | |
| 7 | 50JE Smoke | 1 | |
| 8 | X50ESL Models Only | 1 | |
| 8 | FRAME 40EE - 40EL - 40TL 40TEE - 40TEL - 40TTL Smoke | 1 | |
| 9 | BLANKETSOUND | 1 | |
| 10 | SCREW | 4 | |
| 11 | HOOK-LOC BRKT | 2 | |
| 12 | NUTPUSH ON | 10 | |
| 13 | BLANKETSOUND | 1 | |
| 14 | SCREW Baffle to center frame | 2 | |
| 15 | TILT HANDLE-EV | 1 | |
| 16 | BAFFLE | 1 | |
| 17 | WASHER | 4 | |
| 18 | SEAL UMC AY BLK | 1 | |
| 19 | SCREW Bracket to foam seal | 1 | |
| 20 | PLATE 40EE - 40EL - 40TL 40TEE - 40TEL - 40TTL White | 1 | |
| 20 | 50BE - 50BEL - 50TL - 50TEL Smoke | 1 | |
| 20 | PLATE35 50JE Smoke | 1 | |
| 21 | FRAME | 1 | |
| 21 | 40EE - 40EL - 40TL 40TEE - 40TEL - 40TTL Smoke | 1 | |
| 22 | ROPE & HNDL | 1 | |
| 23 | 40EE - 40EL - 40TL 40TEE - 40TEL - 40TTL White | 1 | |
| 23 | DECAL AYSET 40EE - 40EL - 40TL 40TEE - 40TEL - 40TTL Smoke | 1 |
