| № | Наименование | Примечание | Кол-во |
|---|---|---|---|
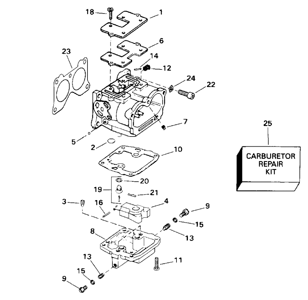
| 1 | Детать | 1 | |
| 2 | PLUG 5PK | 2 | |
| 3 | ORIFICE tahos_ 26 | 2 | |
| 3 | ORIFICE tahos_ 25 | 2 | |
| 4 | FLOAT & ARM | 1 | |
| 5 | LEAD SHOT | 2 | |
| 6 | GASKET | 1 | |
| 7 | ORIFICE tahos_38 | 1 | |
| 8 | FLOAT CHAMBER | 1 | |
| 9 | SCREW PLUG | 2 | |
| 10 | GASKET | 1 | |
| 11 | SCREW | 4 | |
| 12 | Детать | 1 | |
| 13 | ORIFICE 56C 50 Models | 2 | |
| 13 | ORIFICE PLUG | 2 | |
| 14 | ROLL PIN | 2 | |
| 15 | O RING (005 per pack) | 2 | |
| 16 | PIN (Also Available in Carburetor Repair Kit.) | 1 | |
| 18 | SCREW | 0 | |
| 19 | FLOAT VALVE & SEAT | 1 | |
| 20 | WASHER (Also Available in Carburetor Repair Kit.) | 1 | |
| 21 | CLIPSPRING (Also Available in Carburetor Repair Kit.) | 1 | |
| 22 | SCREW | 8 | |
| 23 | GASKET 5PK (005 per pack) | 2 | |
| 24 | LOCKWASHER | 8 | |
| 25 | KIT AYCARB REPAIR | 1 | |
| 0437205 | Not Shown | 2 | |
| 0437209 | Not Shown | 2 |
