| № | Наименование | Примечание | Кол-во |
|---|---|---|---|
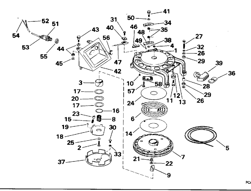
| 1 | HOUSING STARTER | 1 | |
| 2 | SCREW | 1 | |
| 3 | BUSHING | 1 | |
| 4 | NUT-SPARK ADJ | 1 | |
| 6 | STR SPRING | 1 | |
| 7 | PULLEY & BUMPER | 1 | |
| 8 | SPRING | 1 | |
| 9 | STARTER PAWL | 1 | |
| 10 | GLIDER | 6 | |
| 11 | SCREW | 1 | |
| 12 | PULLEY&O-RING AY | 1 | |
| 13 | O-RING Included with Powerhead Gasket and Seal Kit | 1 | |
| 14 | SHIELD | 1 | |
| 15 | SPRING | 1 | |
| 16 | RET RING | 1 | |
| 17 | WASHER | 2 | |
| 18 | PLATE&SLEEVE | 1 | |
| 19 | Детать | 1 | |
| 20 | WASHER | 1 | |
| 21 | BUSHING | 1 | |
| 22 | CURVED WSHR | 1 | |
| 23 | BUMPER | 1 | |
| 24 | SHIELD | 1 | |
| 25 | WASHER-MOUNT | 1 | |
| 26 | WASHER | 6 | |
| 27 | SCREW | 3 | |
| 28 | SLEEVE | 3 | |
| 29 | GROMMET | 6 | |
| 30 | BOLT | 3 | |
| 31 | SCREW | 2 | |
| 32 | LOCKWASHER | 3 | |
| 34 | LOCKOUT LEVER | 1 | |
| 35 | SPRING | 2 | |
| 36 | ANCHOR | 1 | |
| 37 | RATCHET-FLYWHEEL | 1 | |
| 38 | WASHER Negative battery stud to center frame | 1 | |
| 39 | STRTR HANDLE | 1 | |
| 40 | CLAMP | 2 | |
| 41 | SCREW | 1 | |
| 42 | BRACKET&PLUG AY | 1 | |
| 44 | GROMMET | 8 | |
| 45 | WASHER | 4 | |
| 46 | SLIDE | 1 | |
| 47 | KIT AYLOCKOUT CA | 1 | |
| 48 | LEVER AYLOCKOUT | 1 | |
| 49 | GROMMET | 1 | |
| 50 | WASHER | 1 | |
| 51 | SWITCH AYSTOP | 1 | |
| 52 | TERM. 61867-2 0.250 in. (6.3 mm) diameter | 1 | |
| 53 | Детать | 1 | |
| 54 | TERMINALSOCKET | 1 | |
| 55 | NUT | 1 | |
| 56 | PLUG COVER | 1 | |
| 57 | SCREW | 1 | |
| 58 | SUPPORT | 1 | |
| 0397903 | Not Shown | 1 |
