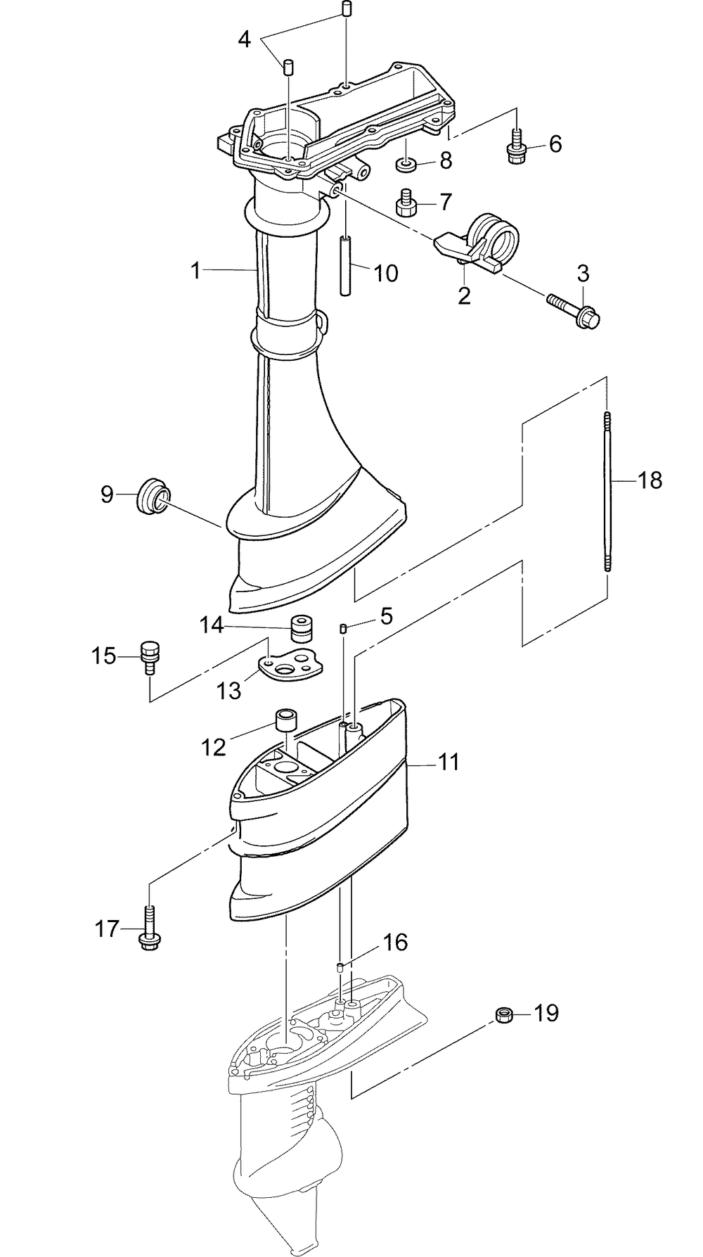
| № | Наименование | Примечание | Кол-во |
|---|---|---|---|
| 1 | DRV SHFT HS ASY S R Models (15 in. shaft) | 1 | |
| 2 | STEERING BRACKET | 1 | |
| 3 | BOLT | 2 | |
| 4 | DOWEL PIN | 2 | |
| 5 | DOWEL PIN | 1 | |
| 6 | BOLT | 7 | |
| 7 | BOLT | 1 | |
| 8 | GASKET | 1 | |
| 9 | GROMMET | 1 | |
| 10 | HOSE | 1 | |
| 11 | EXTENSION HOUSING Extends shaft length to 20 in. | 1 | |
| 12 | DRV SHAFT BUSHING Use with extention kit | 1 | |
| 14 | GROMMET Use with extention kit (010 per pack) | 1 | |
| 15 | BOLT Use with extention kit | 2 | |
| 17 | BOLT Use with extention kit (010 per pack) | 1 | |
| 19 | NUT Use with extention kit | 1 |
