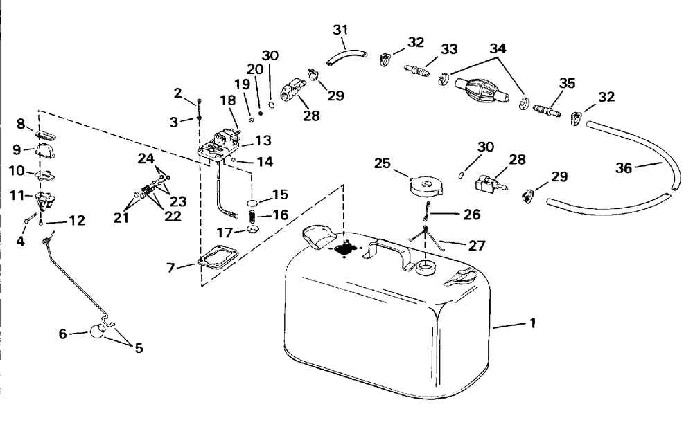
FUEL TANK WITH GAUGE

Корзина пуста