| № | Наименование | Примечание | Кол-во |
|---|---|---|---|
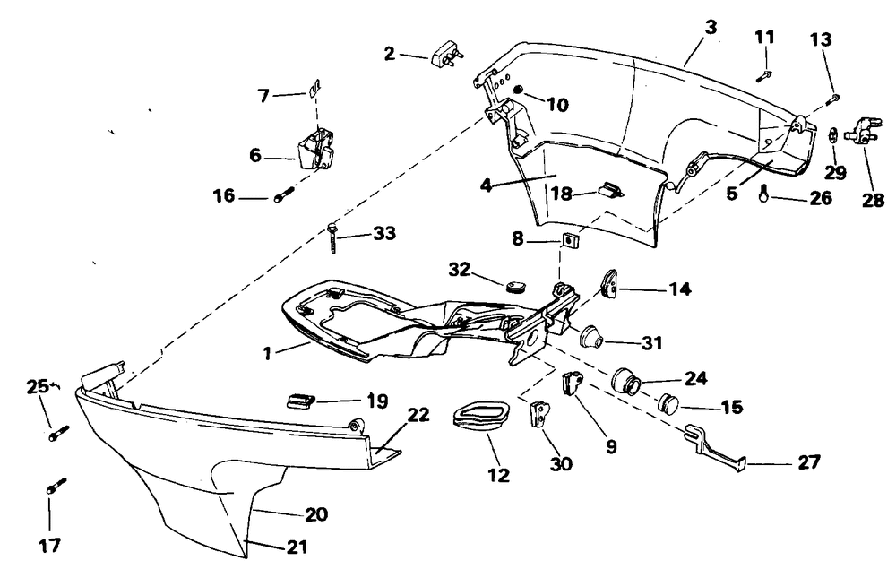
| 1 | Детать | 1 | |
| 3 | 10-15RP & RS Models Only | 1 | |
| 4 | BLANKETSOUND | 1 | |
| 5 | BLANKETSOUND | 1 | |
| 6 | LATCH AY | 1 | |
| 7 | SPRING | 1 | |
| 8 | NUT | 5 | |
| 9 | GROMMET | 1 | |
| 10 | NUT-SCREW THRTL | 1 | |
| 11 | SCREW | 2 | |
| 12 | GROMMET | 1 | |
| 14 | GROMMET | 1 | |
| 14 | GROMMET | 1 | |
| 14 | Remote Models | 1 | |
| 15 | GROMMET Rope Start models only | 1 | |
| 16 | SCREW (005 per pack) | 1 | |
| 18 | SEAL | 1 | |
| 19 | SEAL | 1 | |
| 20 | Детать | 1 | |
| 21 | BLANKETSOUND | 1 | |
| 22 | BLANKETSOUND | 1 | |
| 24 | GROMMET | 1 | |
| 25 | SCREW | 1 | |
| 26 | SCREW | 1 | |
| 27 | KNOBCHOKE | 1 | |
| 28 | KIT AYFUEL CONN | 1 | |
| 29 | SEAL-FUEL CONNECT | 1 | |
| 30 | GROMMET | 1 | |
| 31 | GROMMET | 1 | |
| 31 | TE Models Rope Models | 1 | |
| 32 | GROMMET | 1 | |
| 32 | GROMMET | 1 | |
| 33 | SCREW | 5 |
