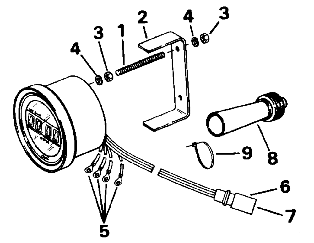
| № | Наименование | Примечание | Кол-во |
|---|---|---|---|
| 1 | Детать | 2 | |
| 2 | BRACKET | 1 | |
| 3 | NUT | 4 | |
| 4 | LOCKWASHER | 4 | |
| 5 | TERM. 31891 | 4 | |
| 6 | CONNECTORAMPEHNOL | 1 | |
| 7 | PIN(10)44-100-1414 (010 per pack) | 3 | |
| 8 | BOOT | 1 | |
| 9 | TIE STRAP 100PK (100 per pack) | 1 | |
| 0174625 | TACH AYDIG-OB-INT Not Shown | 1 |
| Корзина пуста |
| № | Наименование | Примечание | Кол-во |
|---|---|---|---|
| 1 | Детать | 2 | |
| 2 | BRACKET | 1 | |
| 3 | NUT | 4 | |
| 4 | LOCKWASHER | 4 | |
| 5 | TERM. 31891 | 4 | |
| 6 | CONNECTORAMPEHNOL | 1 | |
| 7 | PIN(10)44-100-1414 (010 per pack) | 3 | |
| 8 | BOOT | 1 | |
| 9 | TIE STRAP 100PK (100 per pack) | 1 | |
| 0174625 | TACH AYDIG-OB-INT Not Shown | 1 |