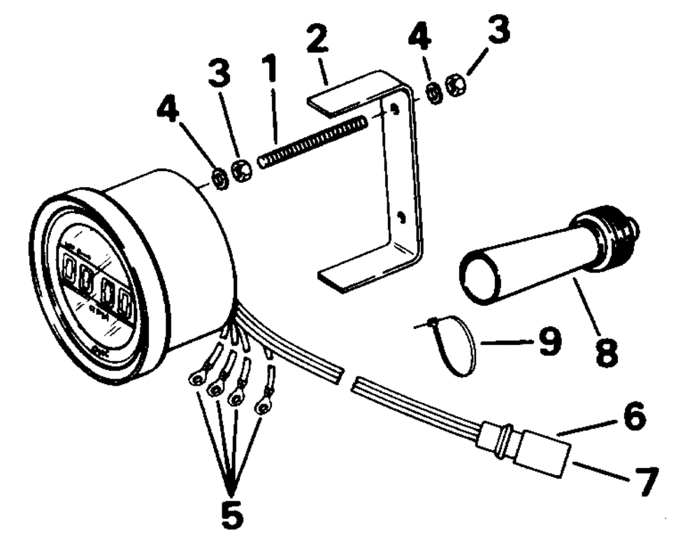
QUARTACH TACHOMETER - FLUSH MOUNT - DIGITAL - PLUG IN

Корзина пуста
Наименование Примечание Кол-во
1 Детать 2
2 BRACKET 1
3 NUT 4
4 LOCKWASHER 4
5 TERM. 31891 4
6 CONNECTORAMPEHNOL 1
7 PIN(10)44-100-1414 (010 per pack) 3
8 BOOT 1
9 TIE STRAP 100PK (100 per pack) 1
0174625 TACH AYDIG-OB-INT Not Shown 1