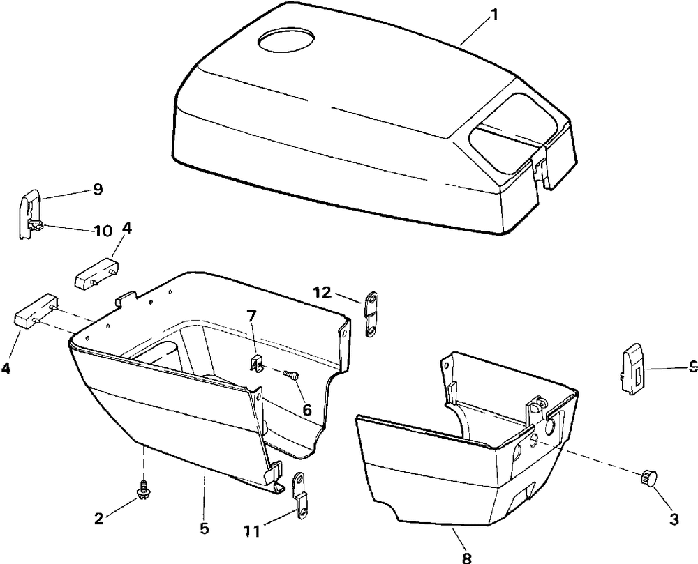
| № | Наименование | Примечание | Кол-во |
|---|---|---|---|
| 1 | 3R Models only White | 1 | |
| 1 | 4R Models Only White | 1 | |
| 1 | 3R Models only | 1 | |
| 1 | 4R Models Only | 1 | |
| 2 | SCREW | 4 | |
| 3 | PLUG | 1 | |
| 4 | PAD | 2 | |
| 5 | Детать | 1 | |
| 5 | White | 1 | |
| 6 | SCREW | 2 | |
| 7 | NUTSPEED | 2 | |
| 8 | 3R Models only | 1 | |
| 8 | 3R Models only White | 1 | |
| 8 | 4R Models Only 4BR Models | 1 | |
| 8 | 4R Models Only 4BR Models White | 1 | |
| 9 | LATCH | 2 | |
| 10 | LINK | 2 | |
| 11 | STRAP | 1 | |
| 12 | Детать | 1 | |
| 0284319 | Not Shown | 1 | |
| 0435605 | Not Shown 3R Models only White | 1 |
