| № | Наименование | Примечание | Кол-во |
|---|---|---|---|
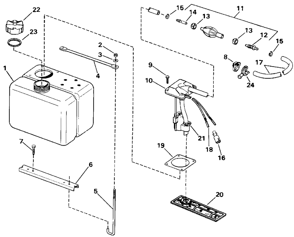
| 1 | 3GL OIL TNK-SYCHK | 1 | |
| 2 | NUT | 2 | |
| 3 | WASHER | 2 | |
| 4 | CROSS BAR | 1 | |
| 5 | HOOK BOLTTANK MTG | 2 | |
| 6 | BRKT | 1 | |
| 7 | LAG SCREW | 2 | |
| 8 | SNAP CLAMP tahos_8 25PK (025 per pack) | 1 | |
| 9 | SCREW (15 Models.) | 4 | |
| 10 | KITPICK-UP 3.0GAL | 1 | |
| 11 | KIT AYPRIMER BULB | 1 | |
| 12 | VALVE AYINLET | 1 | |
| 13 | HOSE CLAMP | 2 | |
| 14 | VALVE AYOUTLET | 1 | |
| 15 | HOSE CLAMP | 2 | |
| 16 | CONN 2 PIN RCPT (Tiller Electric Models Only.) | 1 | |
| 18 | PIN(10)44-100-1414 (010 per pack) | 2 | |
| 19 | SEAL | 1 | |
| 20 | OIL TANK FILTER | 1 | |
| 22 | CAP AYOIL W/VALVE | 1 | |
| 23 | GASKET | 1 | |
| 24 | PLUG HOLDER | 1 | |
| 0175531 | 3GL OIL TNK-SYCHK Not Shown | 1 |
