| № | Наименование | Примечание | Кол-во |
|---|---|---|---|
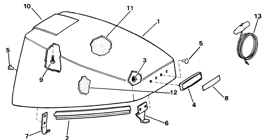
| 1 | COVER AYMOTOR-UPR 9.9 Models | 1 | |
| 1 | 10SEL Models | 1 | |
| 1 | 15 Models | 1 | |
| 1 | TJ Models | 1 | |
| 2 | Детать | 1 | |
| 3 | NUTPUSH ON | 0 | |
| 4 | APPLIQUE-FRONT | 1 | |
| 4 | APPLIQUE-FRONT TJ Models | 1 | |
| 5 | RIVET | 4 | |
| 6 | Детать | 1 | |
| 7 | HOOK&RIVET-REAR | 1 | |
| 8 | PLATE 9.9 Models 15 Models | 1 | |
| 8 | PLATE TJ Models | 1 | |
| 8 | PLATE 10SEL Models | 1 | |
| 9 | SCREW (005 per pack) | 4 | |
| 10 | Детать | 1 | |
| 11 | BLANKETSOUND-TOP | 1 | |
| 12 | Детать | 1 | |
| 13 | ROPE AYSTARTER 10SEL Models | 1 | |
| 0211772 | Not Shown 4-Language (Engine French Spanish Portuguese) | 1 | |
| 0211777 | 10SEL Models 4-Language (Engine French Spanish Portuguese) | 1 | |
| 0211944 | Not Shown English/French Only | 1 | |
| 0211945 | Not Shown Remote Control Models English/French Only | 1 | |
| 0434613 | Not Shown 10SEL Models | 1 | |
| 0434737 | Not Shown TJ Models | 1 | |
| 0435612 | Not Shown 9.9 Models | 1 | |
| 0435614 | Not Shown 15 Models | 1 |
