| № | Наименование | Примечание | Кол-во |
|---|---|---|---|
| 1 | 30RE - 30RLE | 1 | |
| 1 | 25RE - 25RLE | 1 | |
| 1 | 20CRE - 20CRLE | 1 | |
| 1 | 35RE - 35RLE | 1 | |
| 1 | TE20CRLE | 1 | |
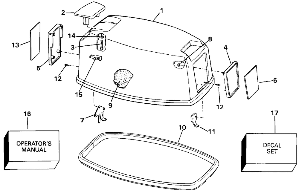
| 2 | TILT HANDLE | 1 | |
| 3 | SCREW (005 per pack) | 2 | |
| 4 | FRAME UMC FRONT | 1 | |
| 4 | FRAME | 1 | |
| 5 | FRAME | 1 | |
| 5 | 20CRE - 20CRLE 25RE - 25RLE 30RE - 30RLE 35RE - 35RLE | 1 | |
| 6 | PLATE 20SR - 20SRL | 1 | |
| 6 | PLATE 25EE - 25ELE | 1 | |
| 6 | PLATE 30EE - 30ELE | 1 | |
| 6 | PLATE 35RE - 35RLE | 1 | |
| 6 | PLATE TE20CRLE | 1 | |
| 7 | HOOK-MOTOR COVER | 1 | |
| 8 | NUTPUSH ON | 4 | |
| 9 | Детать | 1 | |
| 9 | Детать | 1 | |
| 9 | Детать | 1 | |
| 9 | Детать | 1 | |
| 10 | SEAL MTR CVRBLK | 1 | |
| 11 | HOOK FRONT MTR CVR | 1 | |
| 12 | RIVET | 5 | |
| 13 | PLATE 30EE - 30ELE | 1 | |
| 13 | PLATE 35RE - 35RLE | 1 | |
| 13 | 20EE - 20ELE | 1 | |
| 13 | PLATE 25EE - 25ELE | 1 | |
| 13 | PLATE TE20CRLE | 1 | |
| 14 | Детать | 2 | |
| 15 | SCREW | 4 | |
| 16 | Детать | 1 | |
| 17 | TE25ELE | 1 | |
| 17 | 20SR - 20SRL | 1 |
