| № | Наименование | Примечание | Кол-во |
|---|---|---|---|
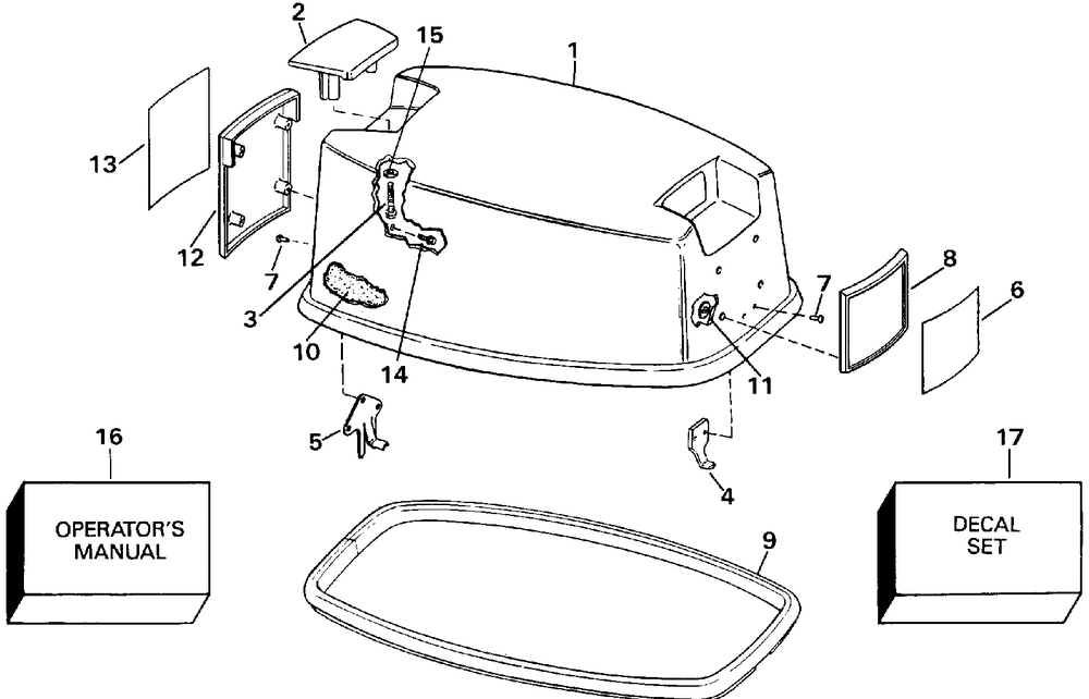
| 1 | 30BA - 30BAL White | 1 | |
| 1 | UMC AYTRCKR/JO/20 TJ20CRLE | 1 | |
| 1 | 35RE - 35RLE | 1 | |
| 1 | 20CRE - 20CRLE White | 1 | |
| 1 | 25RA - 25RAL - 25BA - 25BAL 25BR - 25BRL White | 1 | |
| 2 | TILT HANDLE | 1 | |
| 3 | SCREW (005 per pack) | 2 | |
| 4 | HOOK FRONT MTR CVR | 1 | |
| 5 | HOOK-MOTOR COVER | 1 | |
| 6 | 25TE 25TEL | 1 | |
| 6 | 20SR - 20SRL | 1 | |
| 6 | PLATE 35RE - 35RLE | 1 | |
| 6 | PLATE 30TE 30TEL | 1 | |
| 6 | TJ20CRLE | 1 | |
| 7 | RIVET | 5 | |
| 8 | FRAME | 1 | |
| 8 | SJ25RD Only . BJ30BA Only . | 1 | |
| 9 | SEAL MTR CVRBLK | 1 | |
| 10 | Детать | 1 | |
| 10 | Детать | 1 | |
| 10 | Детать | 1 | |
| 10 | Детать | 1 | |
| 11 | NUTPUSH ON | 4 | |
| 12 | FRAME | 1 | |
| 12 | SJ25RD Only . BJ30BA Only . | 1 | |
| 13 | 20SR - 20SRL | 1 | |
| 13 | PLATE 30TE 30TEL | 1 | |
| 13 | 25TE 25TEL | 1 | |
| 13 | TJ20CRLE | 1 | |
| 14 | SCREW | 4 | |
| 15 | Детать | 2 | |
| 16 | Детать | 1 | |
| 17 | 25RA - 25RAL - 25BA - 25BAL | 1 | |
| 17 | 30BA - 30BAL | 1 | |
| 17 | 20CRE - 20CRLE White | 1 | |
| 17 | 35RE - 35RLE | 1 | |
| 17 | TJ25ELE | 1 |
