| № | Наименование | Примечание | Кол-во |
|---|---|---|---|
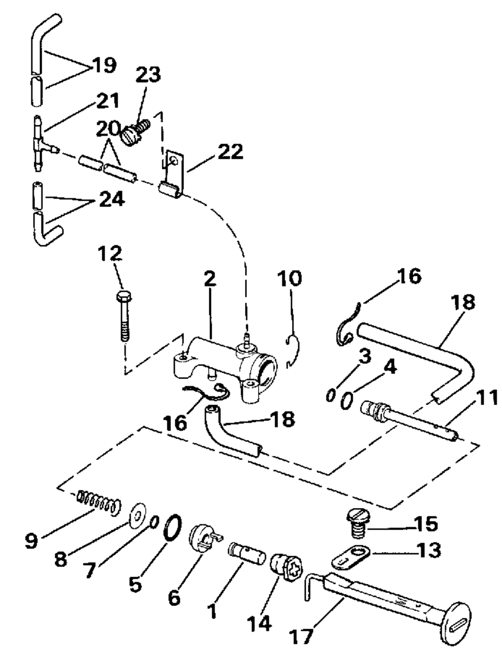
| 1 | CONNECTOR | 1 | |
| 2 | PRIMER PUMP AY | 1 | |
| 3 | O-RING | 1 | |
| 4 | QUAD RING | 1 | |
| 5 | O-RING | 1 | |
| 6 | END CAP&O-RING KIT | 1 | |
| 7 | O-RING | 1 | |
| 8 | WASHER | 1 | |
| 9 | SPRING | 1 | |
| 10 | RETAINER | 1 | |
| 11 | Детать | 1 | |
| 12 | SCREW-PIVOT CAP | 2 | |
| 13 | Детать | 1 | |
| 14 | GROMMET CHOKE KNOB | 1 | |
| 15 | SCREW | 2 | |
| 16 | TIE STRAP 100PK (100 per pack) | 2 | |
| 17 | KNOB & ROD AY | 1 | |
| 21 | TEE | 1 | |
| 22 | CLAMP | 1 | |
| 23 | Детать | 1 |
