| № | Наименование | Примечание | Кол-во |
|---|---|---|---|
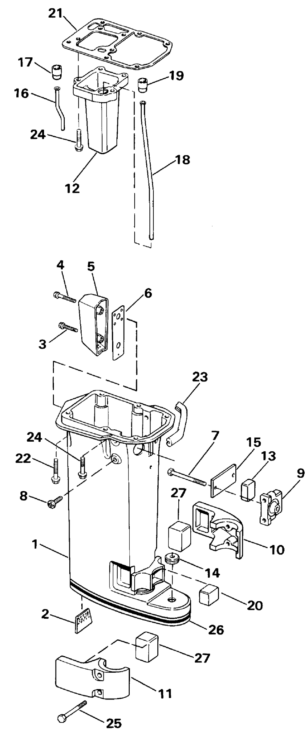
| 1 | Детать | 1 | |
| 2 | BAFFLE-EXH HSG | 1 | |
| 3 | SCREW 5 PK (005 per pack) | 1 | |
| 4 | SCREW-EXH HSG | 1 | |
| 5 | EXHAUST MUFFLER | 1 | |
| 6 | GASKET | 1 | |
| 7 | SCREW | 2 | |
| 8 | SCREW | 4 | |
| 9 | MOUNT AYTHRUST | 2 | |
| 10 | MOUNT BRACKET LOW | 1 | |
| 11 | MOUNT BRACKET-LOW | 1 | |
| 12 | EXH HSG-INNER | 1 | |
| 13 | MOUNTTHRUST UPPR | 1 | |
| 14 | GROMMET | 1 | |
| 15 | PLATE | 1 | |
| 16 | WATER TUBE&GROMMET | 1 | |
| 17 | GROMMET | 1 | |
| 18 | WATER TUBE&GROMMET | 1 | |
| 18 | WATER TUBE&GROMMET | 1 | |
| 20 | THRUST MOUNT | 1 | |
| 21 | GASKET 5PK | 1 | |
| 23 | SEAL EX-HOUSING | 1 | |
| 25 | SCREW | 2 | |
| 26 | Детать | 1 | |
| 26 | DECAL | 1 | |
| 27 | RUBBER MOUNT | 2 |
