| № | Наименование | Примечание | Кол-во |
|---|---|---|---|
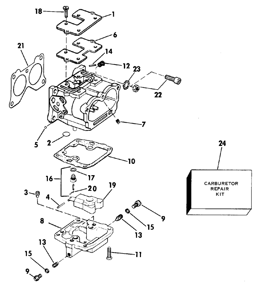
| 1 | Детать | 1 | |
| 2 | PLUG 5PK | 2 | |
| 3 | ORIFICE | 2 | |
| 4 | PIN (Also Available in Carburetor Repair Kit.) | 1 | |
| 5 | LEAD SHOT | 2 | |
| 6 | GASKET | 1 | |
| 7 | ORIFICE tahos_34 | 2 | |
| 8 | KITAL FLOAT BOWL | 1 | |
| 9 | SCREW PLUG | 2 | |
| 10 | GASKET | 1 | |
| 11 | SCREW | 4 | |
| 12 | Детать | 1 | |
| 13 | ORIFICE 57C | 2 | |
| 14 | ROLL PIN | 2 | |
| 15 | O-RINGSCREW PLUG | 4 | |
| 16 | FLOAT VALVE & SEAT | 1 | |
| 17 | WASHER (Also Available in Carburetor Repair Kit.) | 1 | |
| 18 | SCREW | 0 | |
| 19 | FLOAT & ARM | 1 | |
| 20 | CLIPSPRING | 1 | |
| 21 | GASKET 5PK (005 per pack) | 2 | |
| 22 | NUT-STUD | 8 | |
| 22 | SCREW | 8 | |
| 23 | LOCKWASHER | 8 | |
| 24 | KIT AYCARB REPAIR | 1 | |
| 0432125 | Not Shown | 2 |
