| № | Наименование | Примечание | Кол-во |
|---|---|---|---|
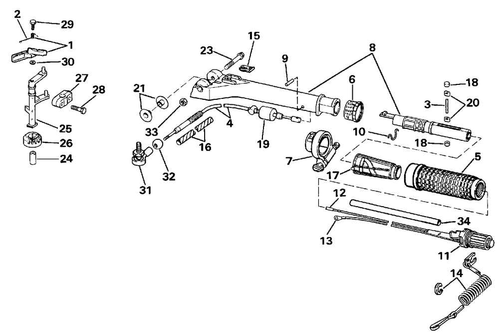
| 1 | INTRLK PWL&SPRNG | 1 | |
| 2 | SPRING | 1 | |
| 3 | PIN | 1 | |
| 4 | CABLE AY-THROTTLE | 1 | |
| 5 | GRIP&HELIX AY | 1 | |
| 6 | PLATE-THROTTLE | 1 | |
| 7 | PRE SET THRTL AY 8SRL & 6SL Models Only | 1 | |
| 8 | Детать | 1 | |
| 9 | PIN | 1 | |
| 10 | RET CLIP | 1 | |
| 11 | SERV KIT-STOP SW | 1 | |
| 12 | TERMSCKT (010 per pack) | 1 | |
| 13 | TERM. 61867-2 0.250 in. (6.3 mm) diameter | 1 | |
| 14 | CLIP & LANYARD A | 1 | |
| 14 | CLIP-RESTART | 1 | |
| 15 | CLIP-RESTART (005 per pack) | 1 | |
| 16 | SLEEVEBRAIDED | 1 | |
| 17 | GRIP&HELIX AY | 2 | |
| 18 | ROLLER | 2 | |
| 19 | SEAL (FOAM) | 1 | |
| 20 | GUIDE | 2 | |
| 21 | BUSHING | 2 | |
| 23 | SCREW | 1 | |
| 24 | Детать | 1 | |
| 25 | SHAFT | 1 | |
| 26 | GEARVERT CNTRL | 1 | |
| 27 | ORIFICE 69D | 1 | |
| 28 | Детать | 1 | |
| 29 | SCREW-PAWL SHAFT | 1 | |
| 30 | WASHER | 1 | |
| 31 | SHELL&BALL JOINT | 1 | |
| 32 | TRUNION-THROTTLE | 1 | |
| 33 | NUT | 1 | |
| 34 | SLEEVE-STOP SWITCH | 1 |
