| № | Наименование | Примечание | Кол-во |
|---|---|---|---|
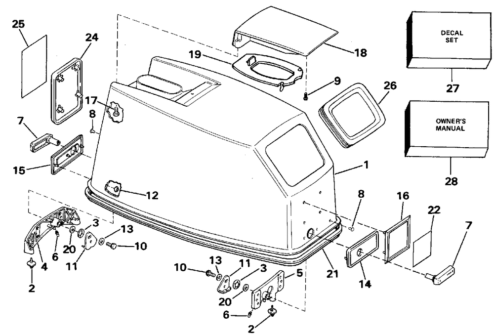
| 1 | Детать | 1 | |
| 2 | Детать | 3 | |
| 3 | WASHER | 2 | |
| 4 | BRACKET&HNDL AY | 1 | |
| 5 | Детать | 1 | |
| 6 | FITTING LUBE | 1 | |
| 7 | LATCH HANDLE | 1 | |
| 8 | RIVET | 4 | |
| 9 | SCREW Bracket to foam seal | 1 | |
| 10 | SCREW | 2 | |
| 11 | LATCH | 2 | |
| 12 | NUTPUSH ON | 14 | |
| 13 | WASHER Negative battery stud to center frame | 2 | |
| 14 | APPLIQUE-EV | 1 | |
| 15 | APPLIQUE-EV | 1 | |
| 16 | APPLIQUE-FRONT | 1 | |
| 17 | SCREW Baffle to center frame | 2 | |
| 18 | TILT HANDLE | 1 | |
| 19 | BAFFLE | 1 | |
| 20 | WASHER | 2 | |
| 21 | SEAL-MTR CVRBLACK | 1 | |
| 22 | 40TE | 1 | |
| 24 | FRAME-BLACK White Engine Cover | 1 | |
| 25 | Детать | 1 | |
| 26 | SEAL-MTR CVR BRKT | 1 | |
| 27 | Детать | 1 | |
| 28 | 50TEC 40TE 4-Language Ownerft.s Manual | 1 | |
| 28 | 40ARL | 1 |
