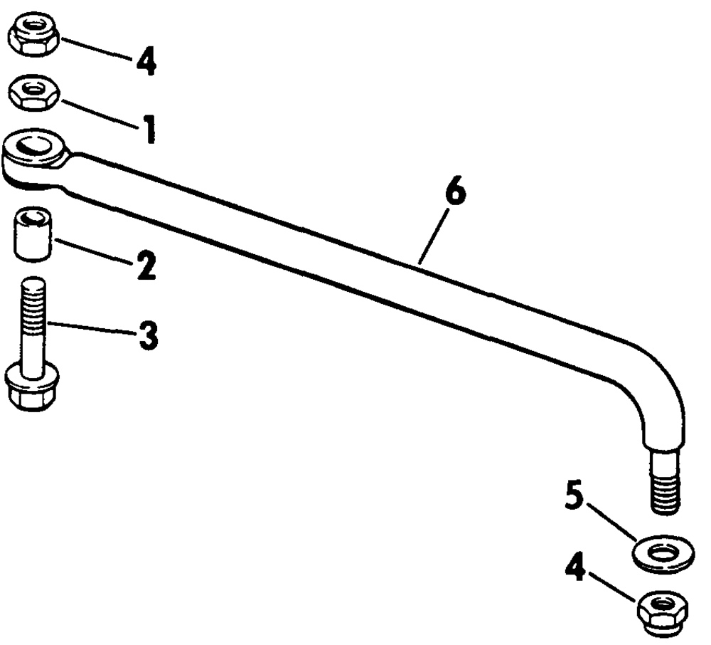
STEERING CONNECTOR KIT - 30EC - 30ELC

Корзина пуста
Наименование Примечание Кол-во
1 NUT PIVOT 1
2 SPACER PIVOT 1
3 BOLT 1
4 LOCKNUT 2
5 WASHER 2
6 CONNECTOR ROD AY 1
0173699 KIT AYSTRG CONN 1