| № | Наименование | Примечание | Кол-во |
|---|---|---|---|
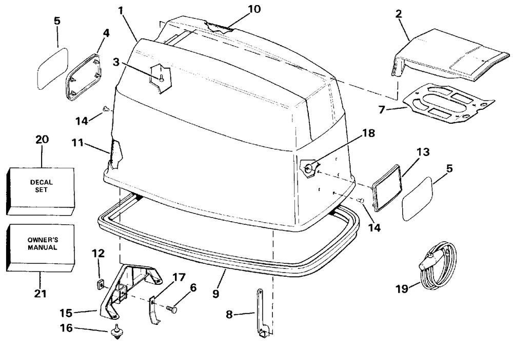
| 1 | 60 ELC-60 TLC | 1 | |
| 1 | 75 Models Only | 1 | |
| 2 | TILT HANDLE | 1 | |
| 3 | SCREW Bracket to foam seal | 1 | |
| 3 | SCREW Baffle to center frame | 2 | |
| 4 | APPLIQUE-REAR Metallic Gray Engine Cover | 1 | |
| 5 | PLATE-APPLIQUE 60 ELC-60 TLC | 2 | |
| 5 | 75 Models Only | 2 | |
| 6 | SCREW | 1 | |
| 7 | BAFFLE | 1 | |
| 8 | HOOK-MC-FRT-EV | 1 | |
| 9 | 60ELC - 60TLC - 60TTL | 1 | |
| 10 | Детать | 1 | |
| 11 | Детать | 1 | |
| 12 | NUT | 1 | |
| 13 | APPLIQUE-FRONT White Engine Cover | 1 | |
| 14 | RIVET | 5 | |
| 15 | LOCATING BRACKET | 1 | |
| 16 | BUMPER | 2 | |
| 17 | Детать | 1 | |
| 18 | NUTPUSH ON | 8 | |
| 19 | ROPE & HNDL | 1 | |
| 20 | Детать | 1 | |
| 20 | 75 Models Only | 1 | |
| 21 | Детать | 1 |
