| № | Наименование | Примечание | Кол-во |
|---|---|---|---|
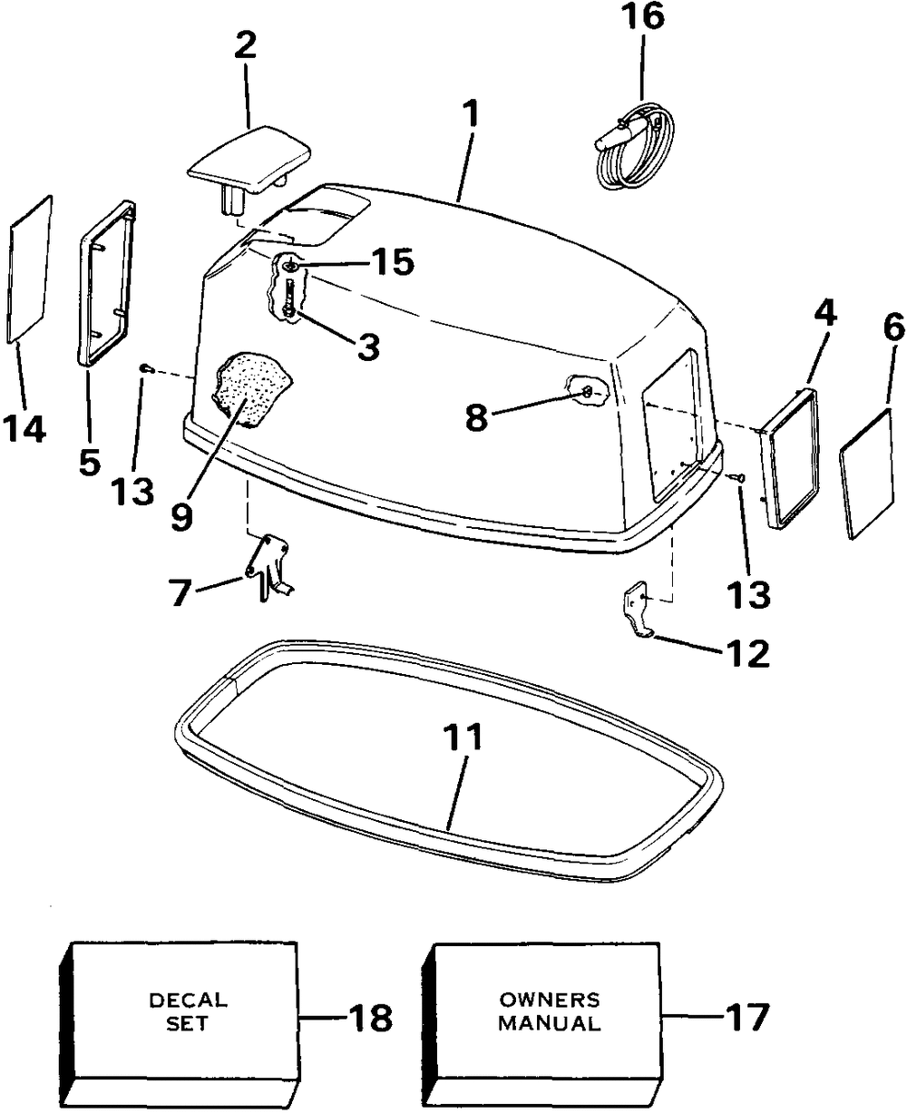
| 1 | Rope Start 25 Models | 1 | |
| 1 | Electric Start 25 Models | 1 | |
| 1 | Rope Start 20 Models | 1 | |
| 1 | Electric Start 20 Models | 1 | |
| 1 | MOTOR COVER 25HP Electric Start 25 Models | 1 | |
| 2 | TILT HANDLE | 1 | |
| 2 | TILT HDLE-MTR CVR Fiberglass Cover . | 1 | |
| 3 | SCREW (005 per pack) | 2 | |
| 3 | *SCREW Duct to cover | 2 | |
| 4 | SJ25RD Only . BJ30BA Only . | 1 | |
| 4 | APPLIQUE | 1 | |
| 5 | APPLIQUE | 1 | |
| 5 | Electric Start 25 Models | 1 | |
| 6 | PLATE-FRONT Rope Start 25 Models Electric Start 25 Models | 1 | |
| 6 | Rope Start 20 Models Electric Start 20 Models | 1 | |
| 7 | HOOK-MOTOR COVER | 1 | |
| 8 | NUTPUSH ON | 8 | |
| 9 | 25RC-25RLC 20CRC-20CRLC | 0 | |
| 9 | 25EC-25ELC 25TEC-25TELC 20EC-20ELC | 1 | |
| 9 | SOUND BLANKET Electric Start 25 Models | 1 | |
| 11 | SEAL MTR CVRBLK 20CRE - 20CRLE 25RE - 25RLE 30RE - 30RLE 35RE - 35RLE | 1 | |
| 11 | SEAL MTR CVRBLK | 1 | |
| 12 | HOOK FRONT MTR CVR | 1 | |
| 13 | RIVET | 5 | |
| 14 | PLATE-APPLIQUE Rope Start 25 Models | 1 | |
| 14 | Electric Start 25 Models | 1 | |
| 14 | PLATE-APPLIQUE Rope Start 20 Models | 1 | |
| 14 | PLATE Electric Start 20 Models | 1 | |
| 15 | Детать | 2 | |
| 16 | ROPE & HNDL | 1 | |
| 17 | Детать | 1 | |
| 18 | Детать | 1 |
