| № | Наименование | Примечание | Кол-во |
|---|---|---|---|
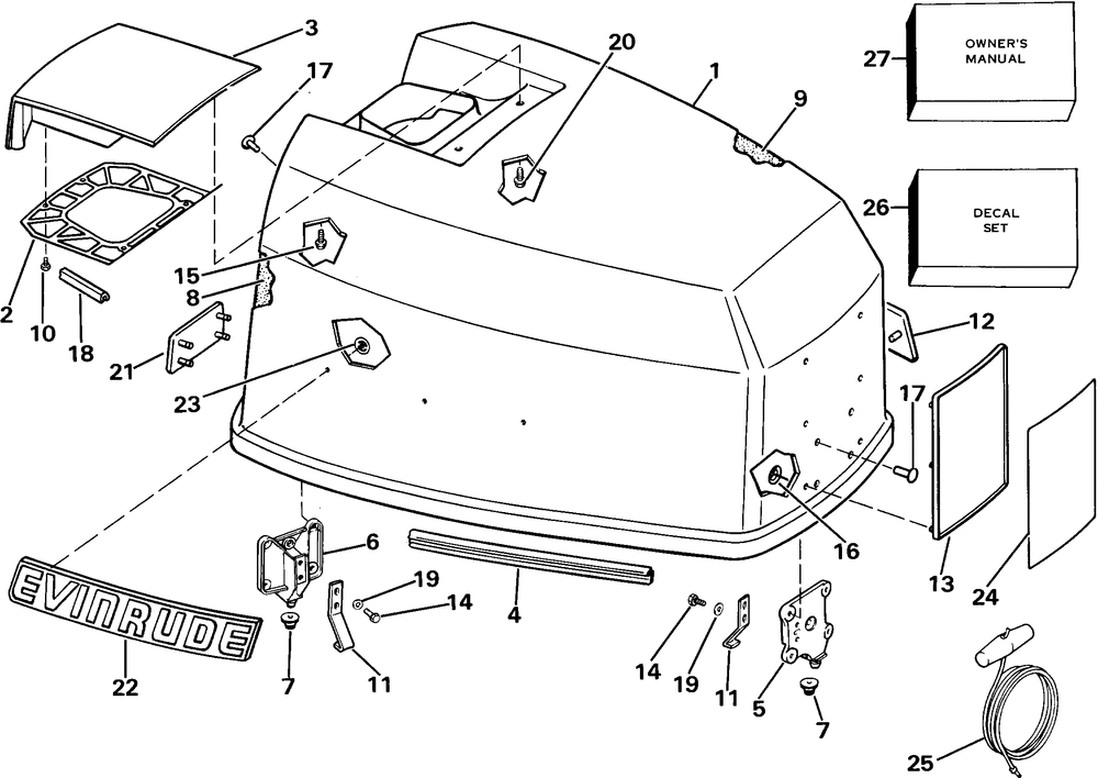
| 1 | Детать | 1 | |
| 1 | Детать | 1 | |
| 2 | BAFFLE | 1 | |
| 3 | TILT HANDLE | 1 | |
| 4 | Детать | 1 | |
| 5 | LOCATING BRACKET | 1 | |
| 6 | Детать | 2 | |
| 7 | Детать | 3 | |
| 8 | BLANKETSOUND | 1 | |
| 9 | Детать | 1 | |
| 10 | SCREW-BFL TILT HND | 4 | |
| 11 | HOOK-LOC BRKT | 3 | |
| 12 | Детать | 1 | |
| 13 | APPLIQUE | 1 | |
| 14 | SCREW | 6 | |
| 15 | SCREW Baffle to center frame | 2 | |
| 16 | NUTPUSH ON | 6 | |
| 17 | RIVET | 12 | |
| 18 | Детать | 1 | |
| 19 | WASHER | 6 | |
| 20 | SCREW Bracket to foam seal | 2 | |
| 21 | APPLIQUE | 1 | |
| 21 | APPLIQUE | 1 | |
| 22 | APPLIQUE | 1 | |
| 23 | FASTENER 5PK (005 per pack) | 14 | |
| 24 | PLATE-APPLIQUE | 1 | |
| 25 | ROPE & HNDL | 1 | |
| 26 | Детать | 1 | |
| 27 | Детать | 1 |
