| № | Наименование | Примечание | Кол-во |
|---|---|---|---|
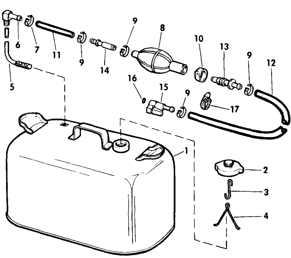
| 1 | Детать | 1 | |
| 2 | CAP AY W/VENT | 1 | |
| 3 | ANCHOR LINK-CAP | 1 | |
| 4 | ANCHOR | 1 | |
| 5 | Детать | 1 | |
| 6 | ELBOW | 1 | |
| 7 | HOSE CLAMP | 1 | |
| 8 | PRIM BULB KIT 5/16 | 1 | |
| 10 | HOSE CLAMP | 1 | |
| 11 | 25' MUL-PURP HOSE Also Available in 50 ft. Rolls. Part No. 122838 (025 per pack) | 1 | |
| 12 | Also Available in 50 ft. Roll Part No. 122838 | 1 | |
| 13 | NIPPLE/VALVE-OUTLT | 1 | |
| 14 | NIPPLE/VALVE-INLET | 1 | |
| 15 | FUEL CONN KIT 5/16 | 1 | |
| 16 | O-RING (005 per pack) | 1 | |
| 17 | CLAMP FUEL LINE | 1 | |
| 0174062 | KIT AYHOSE & BULB Not Shown | 1 | |
| 0320107 | TIE STRAP 100PK (100 per pack) | 1 | |
| 0387621 | DECAL SET 6 GAL TK Not Shown | 1 |
